样品
成果详情
| 项目简介 | |||||
|---|---|---|---|---|---|
| 技术简介: | |||||
| 专利类型: | 实用新型 | 专利申请号: | CN202021280641.4 | 公开号: | CN212737562U |
| 专利权人: | 南方医科大学南方医院 | 发明设计人: | 郭萍;黄榕;陈泽纯;孙琼菲;宋洁 | ||
| 所属领域: | |||||
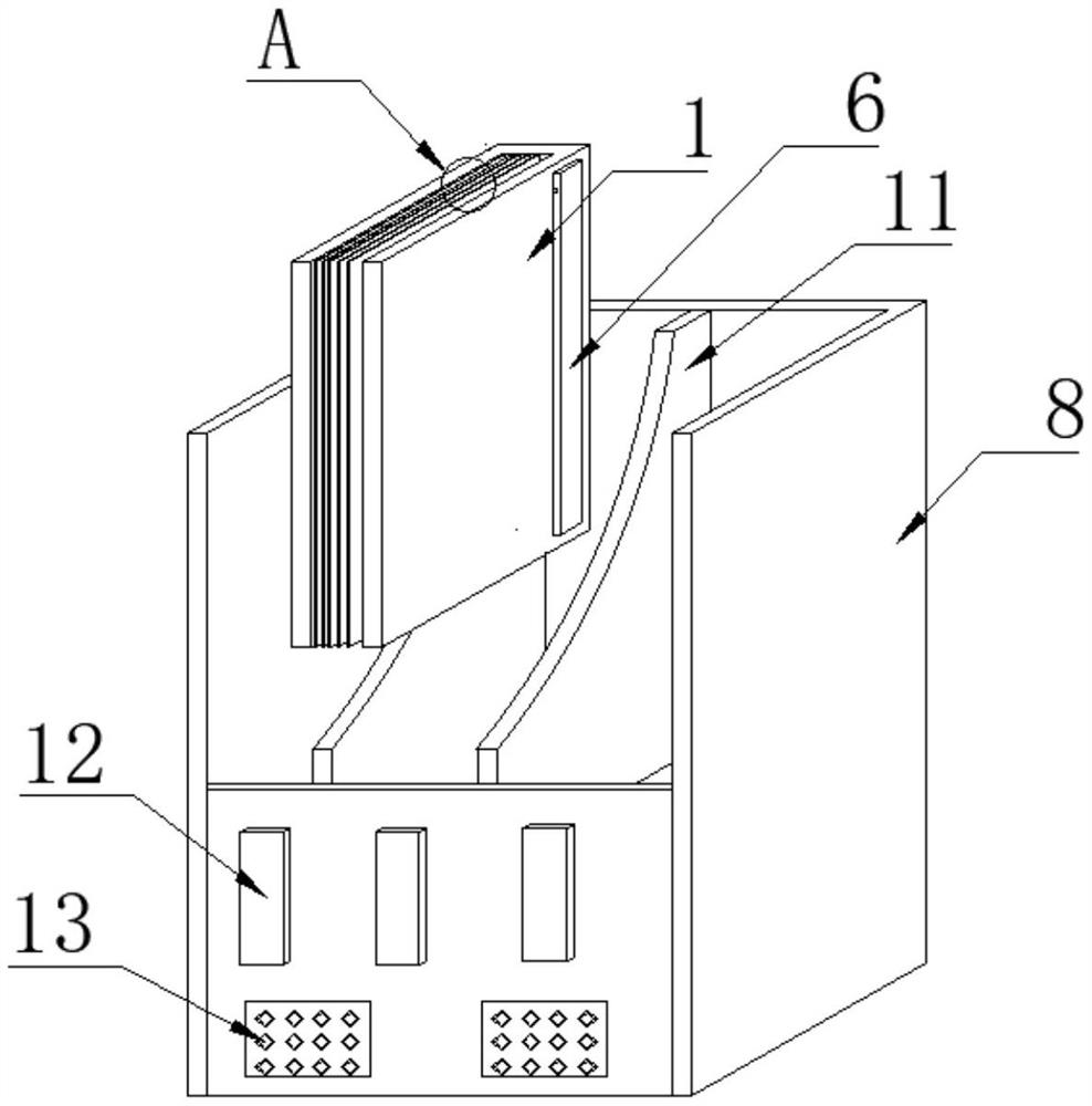
| 摘要: | 本实用新型公开了一种医用临床检查结果整理夹,具体涉及整理架领域,包括外壳,所述外壳内壁一侧设置有标签袋,所述标签袋与外壳固定连接,所述标签袋一侧设置有目录表,所述目录表与外壳固定连接,所述目录表前侧设置有多个存储袋,所述存储袋与外壳固定连接,所述外壳外侧设置有十字固定块,所述十字固定块与外壳固定连接,所述十字固定块一侧设置有拆卸标签,所述拆卸标签内部设置有十字卡槽。本实用新型通过标识板,拆卸标签,目录板即可快速查找病人的检查结果,且文件框方便了病人检查结果的存储,节约了大量的时间,大大提高了患者治疗及方便了临床病历归档的困惑。 | ||||
| 补充信息 | |||||
| 转让方式: | 成熟度: | 预估价值: | |||
| 市场前景: | |||||