样品
成果详情
| 项目简介 | |||||
|---|---|---|---|---|---|
| 技术简介: | |||||
| 专利类型: | 实用新型 | 专利申请号: | CN202421340095.7 | 公开号: | CN221285941U |
| 专利权人: | 南方医科大学南方医院 | 发明设计人: | 刘素娥;姚艳 | ||
| 所属领域: | |||||
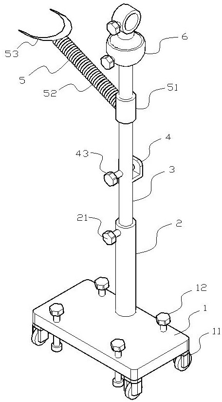
| 摘要: | 本实用新型涉及胸腔镜固定领域,尤其涉及一种胸腔镜用固定装置,该固定装置可解决背景技术中所指固定支架通过固定座固定在手术床边沿,固定面积较小,不稳定,且为侧开口结构,容易出现松动滑脱的问题。包括底座,底座呈扁平的长方体状,四角底部设有具有限位作用的万向轮,万向轮一侧的底座上竖向贯通旋拧有朝向的定位螺栓,定位螺栓底面固定设有橡胶块;底座上表面后侧固定设有竖向的套管,套管中滑动设有竖杆,套管上端部一侧旋拧有对竖杆限位的第一螺栓,竖杆后侧固定设有拐角形的卡块,竖杆前侧向后贯通旋拧有与卡块挤压配合的第二螺栓;竖杆顶部固定设有与胸腔镜手柄配合的角度调节结构。它操作简单,使用方便,适用于多种患者。 | ||||
| 补充信息 | |||||
| 转让方式: | 成熟度: | 预估价值: | |||
| 市场前景: | |||||