样品
成果详情
| 项目简介 | |||||
|---|---|---|---|---|---|
| 技术简介: | |||||
| 专利类型: | 实用新型 | 专利申请号: | CN202123071708.0 | 公开号: | CN216797717U |
| 专利权人: | 南方医科大学南方医院 | 发明设计人: | 苗勇;胡志奇;勒德勐杰 | ||
| 所属领域: | |||||
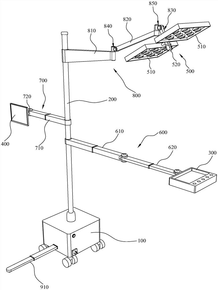
| 摘要: | 本实用新型公开一种智能植发外设平台,包括:基座和安装于基座上的主杆;由下至上依次设置的托盘结构、显示器以及照明摄像结构,托盘结构通过第一连杆与主杆连接,显示器通过第二连杆与主杆连接,照明摄像结构通过第三连杆与主杆连接;控制器,与驱动机构连接,用以控制第一连杆、第二连杆和第三连杆活动以调节托盘结构、显示器和照明摄像结构的位置。与现有技术相比,本实用新型的智能植发外设平台集成了自体毛发移植术当中可能使用到的多种设备,为植发手术提供了便利。 | ||||
| 补充信息 | |||||
| 转让方式: | 成熟度: | 预估价值: | |||
| 市场前景: | |||||