样品
成果详情
| 项目简介 | |||||
|---|---|---|---|---|---|
| 技术简介: | |||||
| 专利类型: | 实用新型 | 专利申请号: | CN202122438890.2 | 公开号: | CN216933182U |
| 专利权人: | 南方医科大学珠江医院 | 发明设计人: | 黄美红 | ||
| 所属领域: | |||||
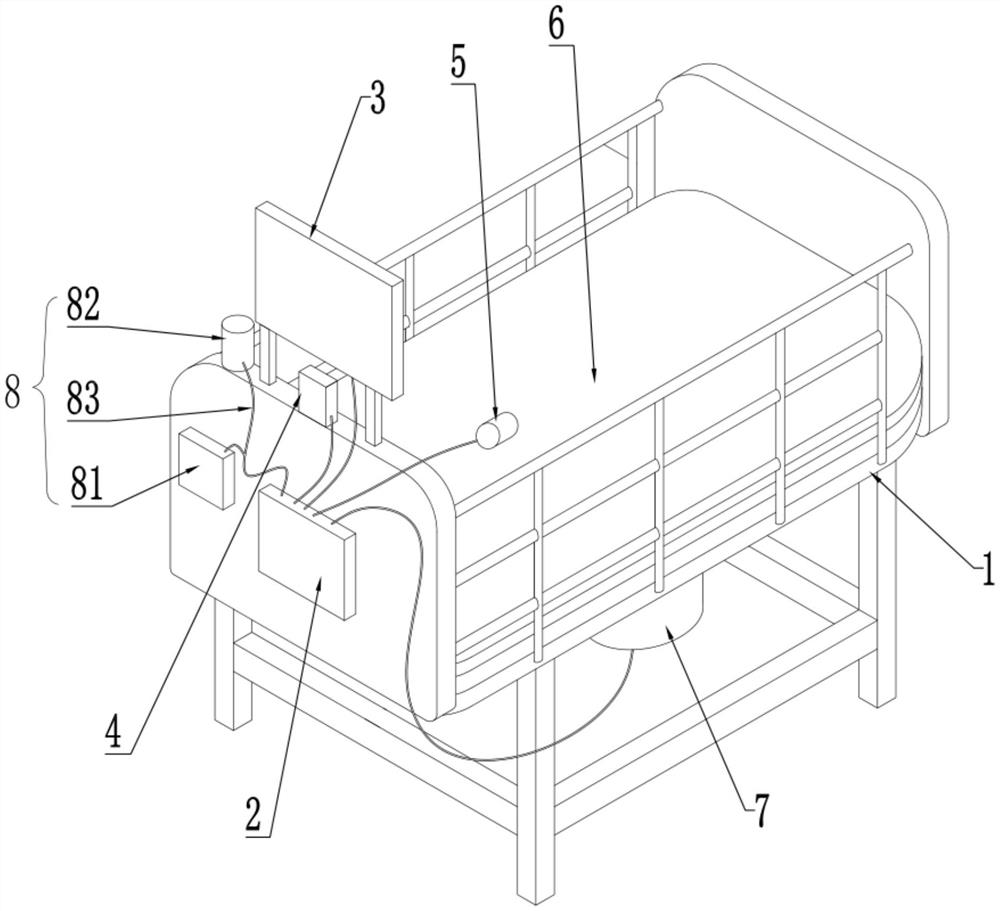
| 摘要: | 本实用新型公开了一种新生儿呼吸暂停自救的传感装置,包括带有床垫的床体,在所述床体上设有控制器和显示器;在所述床体上分别设有一用于监测新生儿的呼吸及心跳的传感器和用于监测新生儿的血氧饱和度的血氧测试仪;在所述床体的床垫的顶部以及底部分别设有一用于对新生儿进行热刺激的电热毯和用于对新生儿进行震动唤醒刺激的震动器;还在所述床体上设有一在新生儿呼吸暂停时能够发出警报信号的警报装置,其中,所述显示器、传感器、血氧测试仪、电热毯、震动器、警报装置均与所述控制器电连接。本实用新型具有能够实时监测新生儿的体征、在新生儿出现呼吸暂停时能够第一时间对新生儿进行刺激抢救的优点。 | ||||
| 补充信息 | |||||
| 转让方式: | 成熟度: | 预估价值: | |||
| 市场前景: | |||||