样品
成果详情
| 项目简介 | |||||
|---|---|---|---|---|---|
| 技术简介: | |||||
| 专利类型: | 实用新型 | 专利申请号: | CN202321099373.X | 公开号: | CN220025707U |
| 专利权人: | 南方医科大学南方医院 | 发明设计人: | 刘杨杨;周杰;张思云;朱碧娟;高静;林翠芬;彭孝文 | ||
| 所属领域: | |||||
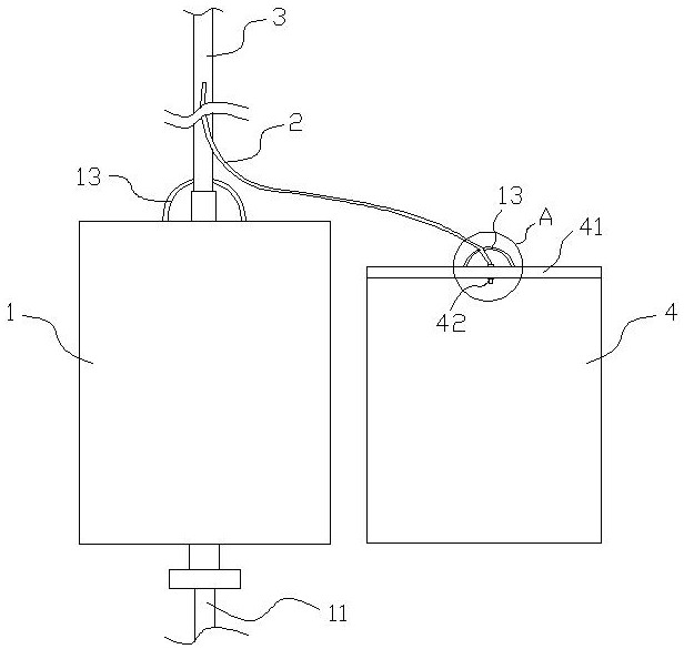
| 摘要: | 本实用新型涉及医用引流袋领域,尤其涉及一种一次性简易分体引流袋,该引流袋将细管与袋体分体设置,连接和更换方便快捷,有效解决背景技术中提出的问题。包括第一袋体,第一袋体上方设有进液管,下方设有排液口,进液管一侧的第一袋体设有挂耳,进液管跟第一袋体连接为一体,进液管匹配留置在患者身上的直径较大的主引流管,主引流管与进液管上端部的接头相连接,主引流管中设有细管,细管下端部从主引流管一侧伸出;细管下端部可拆卸插置于第二袋体上开口处,上开口处前后袋体内表面分别粘接有相互配合的粘扣带粘钩和粘扣带基座,第二袋体底部封闭;袋体上开口处设有与细管配合的固定件。它操作简单,使用方便,适用于患者多部位的引流。 | ||||
| 补充信息 | |||||
| 转让方式: | 成熟度: | 预估价值: | |||
| 市场前景: | |||||