样品
成果详情
| 项目简介 | |||||
|---|---|---|---|---|---|
| 技术简介: | |||||
| 专利类型: | 实用新型 | 专利申请号: | CN202322525984.2 | 公开号: | CN221490162U |
| 专利权人: | 南方医科大学南方医院 | 发明设计人: | 陈滨;王灏;郑健雄;刘飞 | ||
| 所属领域: | |||||
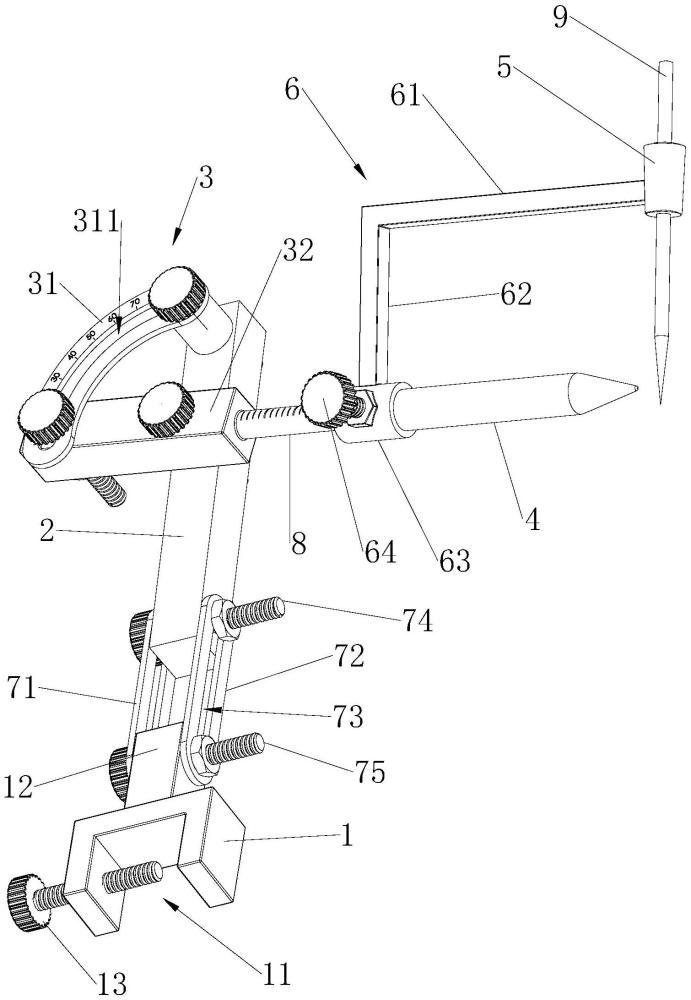
| 摘要: | 本实用新型公开了一种骶髂骨后方螺钉置入导向装置,包括连接座、固定杆、角度调节器、定位杆、导向筒和连接件,固定座与骶髂骨后方可拆卸地固定连接,导向筒可供导针穿过,固定杆一端与连接座滑动连接,另一端与定位杆转动连接,角度调节器设置于固定杆与定位杆之间并用于调整两者之间的夹角,连接件一端与定位杆转动连接,另一端与导向筒连接,导向筒与定位杆的轴线始终垂直,连接件可绕定位杆的轴线转动,导向筒同步转动;固定杆与定位杆之间设有用于调整定位杆与固定杆之间间距的伸缩杆。通过上述定位调整,可使导针精准得经过定位点,还使得螺钉置入的定位步骤简单且耗时较短。 | ||||
| 补充信息 | |||||
| 转让方式: | 成熟度: | 预估价值: | |||
| 市场前景: | |||||