样品
成果详情
| 项目简介 | |||||
|---|---|---|---|---|---|
| 技术简介: | |||||
| 专利类型: | 实用新型 | 专利申请号: | CN202121918271.7 | 公开号: | CN215460896U |
| 专利权人: | 南方医科大学珠江医院 | 发明设计人: | 林静纯;钱俊;翁爱华;曾小梅 | ||
| 所属领域: | |||||
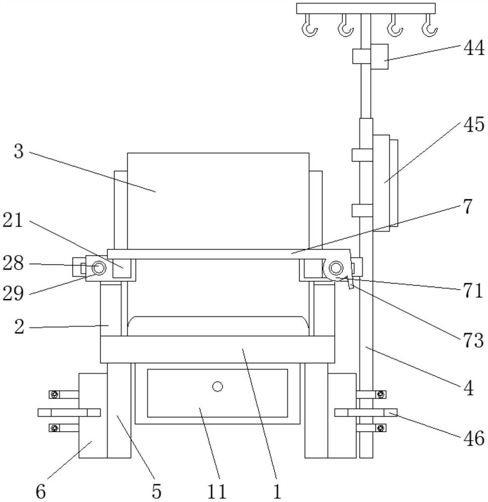
| 摘要: | 本实用新型公开了一种多功能输液椅。一种多功能输液椅,包括椅座、扶手、椅背和输液架,其中,在所述椅座的底部设有支脚,在两个靠近所述椅座后部的支脚上沿竖直方向设有能够固定所述输液架的固定组件,所述扶手设置在椅座的左右两侧上,在所述扶手的前端可拆卸装设有桌板,所述椅背通过一角度调节器与椅座的后端铰接在一起。本实用新型一种多功能输液椅,泛用性强,操作简单方便并且有利于不同患者使用。 | ||||
| 补充信息 | |||||
| 转让方式: | 成熟度: | 预估价值: | |||
| 市场前景: | |||||