样品
成果详情
| 项目简介 | |||||
|---|---|---|---|---|---|
| 技术简介: | |||||
| 专利类型: | 实用新型 | 专利申请号: | CN202022457561.8 | 公开号: | CN213558793U | 
| 专利权人: | 南方医科大学南方医院 | 发明设计人: | 邹莹莹;张晓梅;黄颖;王莉慧;曹猛;宋学梅;项丽君 | ||
| 所属领域: | |||||
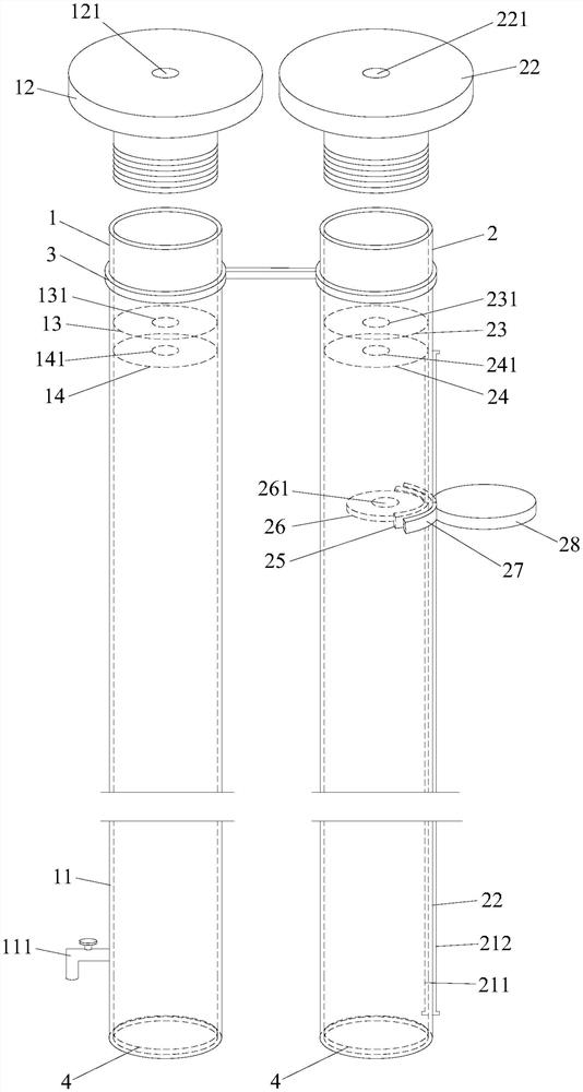
| 摘要: | 本实用新型公开了一种超声探头床边消毒清洗装置,包括消毒装置和清洗装置,消毒装置包括消毒缸、缸盖一、橡胶圈一、隔板一,隔板一的中间开有开孔一,橡胶圈一和缸盖一的中间开有开孔二、开孔三,缸盖一与消毒缸的上端螺纹连接;清洗装置包括清洗缸、缸盖二、橡胶圈二、隔板二,隔板二的中间开有开孔四,橡胶圈二和缸盖二的中间开有开孔五、开孔六,清洗缸的内滑轨上滑动安装有金属片,金属片上固定有海绵,海绵的中间开有与开孔四对应的开孔七,清洗缸的外滑轨上滑动安装有与金属片相互吸附的磁铁,磁铁上固定有把手。本实用新型的超声探头床边消毒清洗装置提高了工作效率。 | ||||
| 补充信息 | |||||
| 转让方式: | 成熟度: | 预估价值: | |||
| 市场前景: | |||||