样品
成果详情
| 项目简介 | |||||
|---|---|---|---|---|---|
| 技术简介: | |||||
| 专利类型: | 发明 | 专利申请号: | CN202510731093.3 | 公开号: | CN120242271A |
| 专利权人: | 南方医科大学南方医院 | 发明设计人: | 陈冰莎;胡小龙;齐宏亮;刘克玄;丁红 | ||
| 所属领域: | |||||
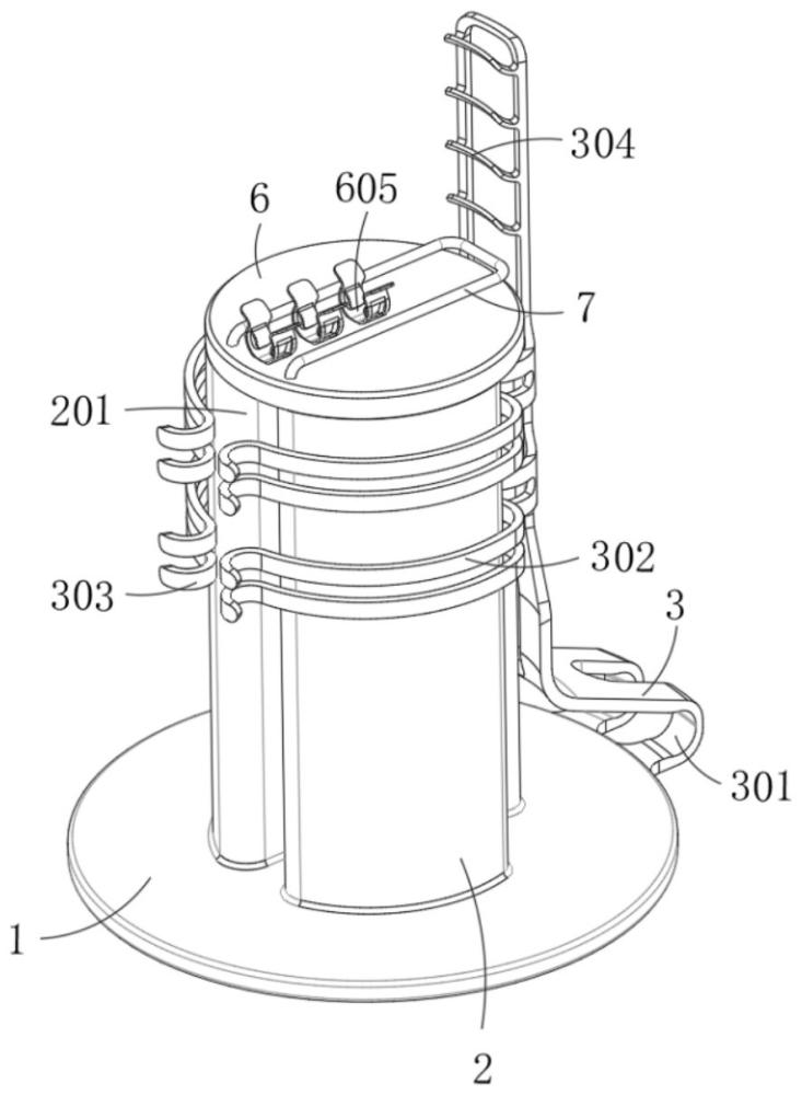
| 摘要: | 本发明提供一种硬膜外导管固定装置,属于医疗工具技术领域。包括底座,底座的顶部固定连接有立柱,底座的底部安装有粘性橡胶垫,立柱的顶部插接有顶盖;固定组件,固定组件用于固定硬膜外导管。本发明通过设置固定组件,采用粘性橡胶垫与患者皮肤粘贴固定,这样的固定方式不仅牢固稳定而且不会伤害患者的皮肤组织,固定组件还可以对裸露在患者体外的硬膜外导管进行缠绕固定,防止手术过程中硬膜外导管被牵拉位移,提高硬膜外导管固定的稳定性,固定组件还可以对硬膜外导管的接头进行固定,从而辅助操作人员对患者进行麻醉注射,使得麻醉注射过程中硬膜外导管的接头部分稳定性好不会被牵拉位移,提高手术的效率和安全性。 | ||||
| 补充信息 | |||||
| 转让方式: | 成熟度: | 预估价值: | |||
| 市场前景: | |||||