样品
成果详情
| 项目简介 | |||||
|---|---|---|---|---|---|
| 技术简介: | |||||
| 专利类型: | 发明 | 专利申请号: | CN202110226368.X | 公开号: | CN113018525A |
| 专利权人: | 南方医科大学南方医院 | 发明设计人: | 李雪华;魏红云;欧庆 | ||
| 所属领域: | |||||
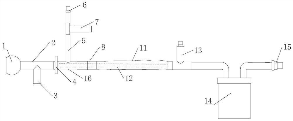
| 摘要: | 本发明公开了一种可计量多功能安全型密闭式吸痰装置,该吸痰装置通过在位于呼吸机接口和冲洗管之间的呼吸管上安装了防误吸阀门,在使用时通过旋转外盘和内盘实现打开和闭合功能,并在冲洗管上安装了自闭式阀门,通过控制自闭式阀门的夹子的夹紧和松开可控制冲洗管内的冲洗液流入和停止,在负压吸引阀门和负压吸引连接口之间安装了痰液计量收集器,痰液计量收集器可通过旋转瓶身和瓶盖的相对位置实现收集痰液的功能,并具有计量功能,该装置解决了冲洗吸痰管时冲洗液进入病患气道和医护人员因疏忽,忘记关闭冲洗液的阀门而造成的潜在风险,并方便了医护人员对痰液进行准确计量、便捷留取痰液标本,减少因密闭式吸痰装置对呼吸机治疗影响。 | ||||
| 补充信息 | |||||
| 转让方式: | 成熟度: | 预估价值: | |||
| 市场前景: | |||||