样品
成果详情
| 项目简介 | |||||
|---|---|---|---|---|---|
| 技术简介: | |||||
| 专利类型: | 实用新型 | 专利申请号: | CN202022986904.X | 公开号: | CN214512193U | 
| 专利权人: | 南方医科大学南方医院 | 发明设计人: | 傅灿 | ||
| 所属领域: | |||||
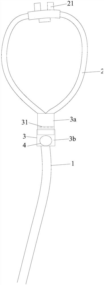
| 摘要: | 本实用新型公开了一种一次性可拆卸型香味吸氧管,包括吸氧管主体和套环状管体,套环状管体的一端外凸形成塞鼻部,塞鼻部、套环状管体及吸氧管主体的内部相连通,所述吸氧管主体与套环状管体的另一端通过连接管可拆卸连接,连接管与吸氧管主体与套环状管体内部相连通,连接管内有孔状隔板,连接管内在孔状隔板的靠吸氧管主体侧放置有可取出的浸有香水的香味棉。本实用新型的一次性可拆卸型香味吸氧管方便更换型号,方便使用,且可避免引起患者恶心呕吐。 | ||||
| 补充信息 | |||||
| 转让方式: | 成熟度: | 预估价值: | |||
| 市场前景: | |||||