样品
成果详情
| 项目简介 | |||||
|---|---|---|---|---|---|
| 技术简介: | |||||
| 专利类型: | 实用新型 | 专利申请号: | CN202120989717.9 | 公开号: | CN214857433U |
| 专利权人: | 南方医科大学珠江医院 | 发明设计人: | 史金拴;吴带娣;周萍;何巧芳 | ||
| 所属领域: | |||||
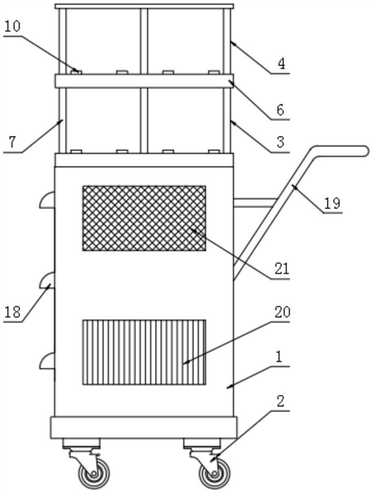
| 摘要: | 本实用新型公开了一种医用麻醉多功能存储车,涉及医用储存设备技术领域,包括第一储存架、第二储存架、抽屉、支撑板、限位杆、安装槽、弹簧、柔性块、第一半球形槽、第一半柔性球、第二半柔性球、第三半柔性球和第二半球形槽。本实用新型中可放置多功能监护仪、打印机、一体机电脑等仪器,可根据需要可分类归置储存不同耗材;节省空间;可对医疗仪器底部进行四重防滑处理,可有效加强医疗仪器的底部防滑性能,保证医疗仪器在存储车上的安全性和稳定性,第四半柔性球和球形腔可有效加强柔性块的柔性缓冲性能,保证柔性块的稳定性,使得柔性块与医疗仪器底部贴合防滑效果更佳。 | ||||
| 补充信息 | |||||
| 转让方式: | 成熟度: | 预估价值: | |||
| 市场前景: | |||||