样品
成果详情
| 项目简介 | |||||
|---|---|---|---|---|---|
| 技术简介: | |||||
| 专利类型: | 发明 | 专利申请号: | CN201710493744.5 | 公开号: | CN107468309A |
| 专利权人: | 南方医科大学南方医院 | 发明设计人: | 陈晓宁;丁昌懋;胡宏刚 | ||
| 所属领域: | |||||
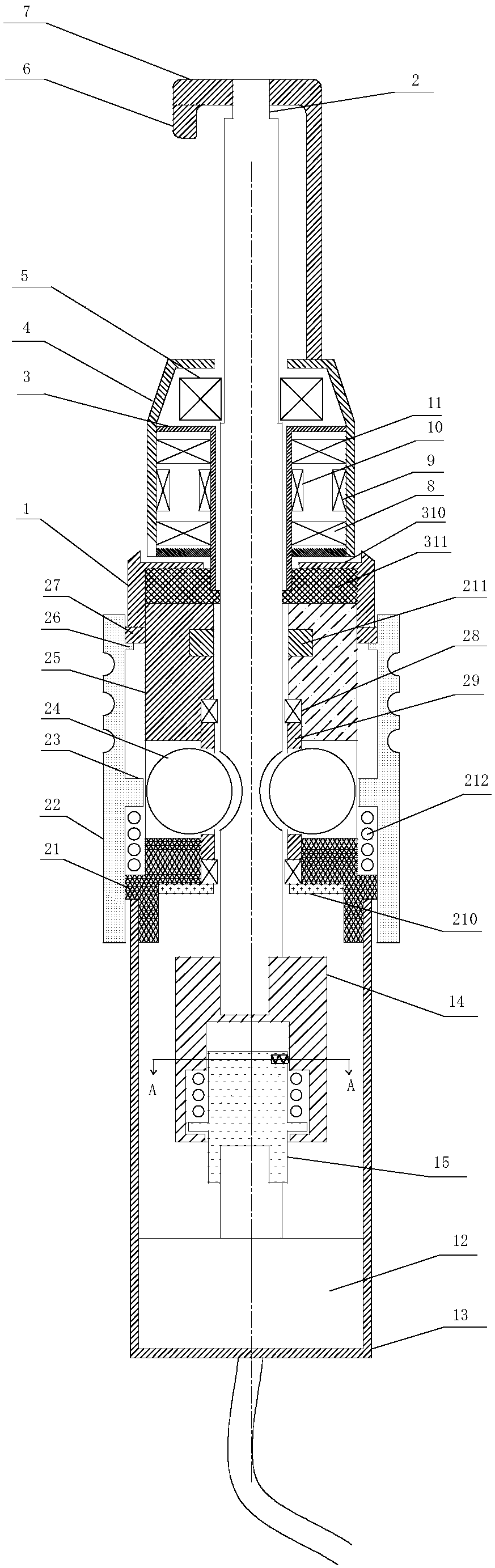
| 摘要: | 一种手术用铣刀,具有顶端带L型托架的手指导向器,该手指导向器设置于固定座的上部,该手术铣刀可捕捉手术医生的动作意图,并控制导向器电机转动从而使L型托架做出避让动作,以防L型托架挡住需要手术的部位。在手术室外设置太阳能电池板,太阳能电池板产生的电能输送给飞轮不间断电源,飞轮不间断电源为手术铣刀及控制器供电。本发明利用太阳能电池板和飞轮不间断电源,确保了手术过程中的用电安全,同时实现了节能环保;同时,本发明的手术铣刀可以捕捉手术医生的动作意图,并控制导向器电机转动从而使L型托架做出避让动作,以防L型托架挡住需要手术的部位,保证手术的安全进行。 | ||||
| 补充信息 | |||||
| 转让方式: | 成熟度: | 预估价值: | |||
| 市场前景: | |||||