样品
成果详情
| 项目简介 | |||||
|---|---|---|---|---|---|
| 技术简介: | |||||
| 专利类型: | 实用新型 | 专利申请号: | CN202021274655.5 | 公开号: | CN213309979U |
| 专利权人: | 南方医科大学南方医院 | 发明设计人: | 余江;陈新华;黄文度;李国新;林周盛;陈瑞蓉;智云飞 | ||
| 所属领域: | |||||
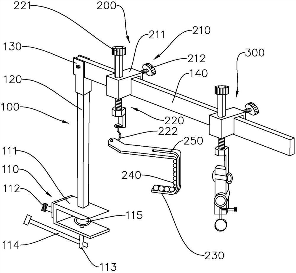
| 摘要: | 本实用新型公开了一种微创手术辅助装置,涉及医疗器械领域,包括:主体部件,包括第二支撑杆;牵拉部件,包括牵拉固定组件、调节组件、拉钩和海绵垫,所述牵拉固定组件与所述第二支撑杆滑动连接并可固定在所述第二支撑杆的任一位置,所述牵拉固定组件与所述调节组件连接,所述调节组件的端部连接有所述拉钩,所述海绵垫固定在所述拉钩内侧;以及腔镜支撑部件,所述腔镜支撑部件与所述第二支撑杆滑动连接并可固定在所述第二支撑杆的任一位置上。采用这种微创手术辅助装置可使在进行微创手术时,能解决因拉钩长时间牵拉人体组织而导致组织缺血造成损害的问题,也能减少扶镜手的扶镜压力。 | ||||
| 补充信息 | |||||
| 转让方式: | 成熟度: | 预估价值: | |||
| 市场前景: | |||||