样品
成果详情
| 项目简介 | |||||
|---|---|---|---|---|---|
| 技术简介: | |||||
| 专利类型: | 实用新型 | 专利申请号: | CN202421619450.4 | 公开号: | CN222853870U |
| 专利权人: | 南方医科大学珠江医院 | 发明设计人: | 黄彩芳;简卫红;邓绮兰;梁淑茵 | ||
| 所属领域: | |||||
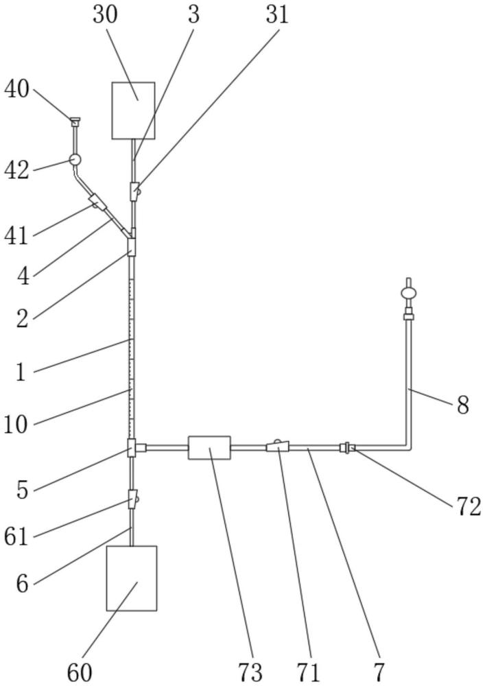
| 摘要: | 本实用新型公开了一种腹内压及膀胱压力联合检测装置。一种腹内压及膀胱压力联合检测装置,包括测量管,在所述测量管上沿长度方向设有刻度,在该测量管的上端设有双头接管,所述双头接管上分别对应连接有输液管和通气管,所述输液管与一输液袋连接,在通气管的前端设有大气接头,在测量管的下端连接有三通管,其中,所述三通管的一端通过一引流管与一尿袋连接,所述三通管的另一端通过一连接管与一导尿管连接,在通气管上设有第一管夹,在输液管上设有第二管夹,在引流管上设有第三管夹,在连接管上设有第四管夹。本实用新型无需拆换管道即能满足腹内压及膀胱压力的测量需求,有利于减少数据误差并且能够提高患者舒适感。 | ||||
| 补充信息 | |||||
| 转让方式: | 成熟度: | 预估价值: | |||
| 市场前景: | |||||