样品
成果详情
| 项目简介 | |||||
|---|---|---|---|---|---|
| 技术简介: | |||||
| 专利类型: | 实用新型 | 专利申请号: | CN201921137668.5 | 公开号: | CN210784872U |
| 专利权人: | 南方医科大学南方医院 | 发明设计人: | 郭亚云;黄榕;郭萍;王秀英;黄少慧;宋洁 | ||
| 所属领域: | |||||
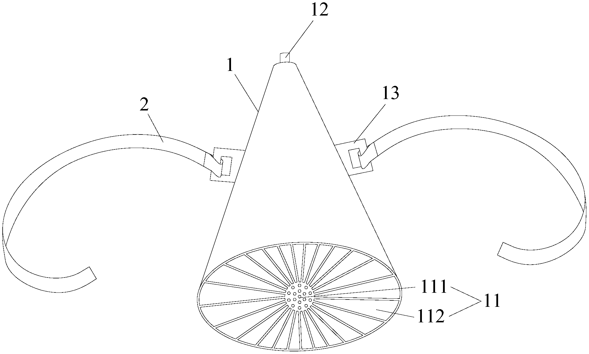
| 摘要: | 本实用新型公开了一种一次性会阴部干燥网,包括锥形筒体,所述锥形筒体的两侧固定有大腿固定带,锥形筒体的大直径端的端面为面向会阴部的网状结构,锥形筒体的小直径端的端面有一氧气管接口,网状结构的网孔和氧气管接口均与锥形筒体的内部连通。本实用新型的一次性会阴部干燥网能让长期卧床患者会阴部干燥,减少患者患皮炎的机会,缩短患者住院时间,保证治疗效果,减少患者住院费用和医护人员的工作量。 | ||||
| 补充信息 | |||||
| 转让方式: | 成熟度: | 预估价值: | |||
| 市场前景: | |||||