样品
成果详情
| 项目简介 | |||||
|---|---|---|---|---|---|
| 技术简介: | |||||
| 专利类型: | 实用新型 | 专利申请号: | CN202020241895.9 | 公开号: | CN212281663U |
| 专利权人: | 南方医科大学珠江医院 | 发明设计人: | 胡佳;周萍;吴源周;何巧芳;周庆祝;石娅;陈秋平;陈俊 | ||
| 所属领域: | |||||
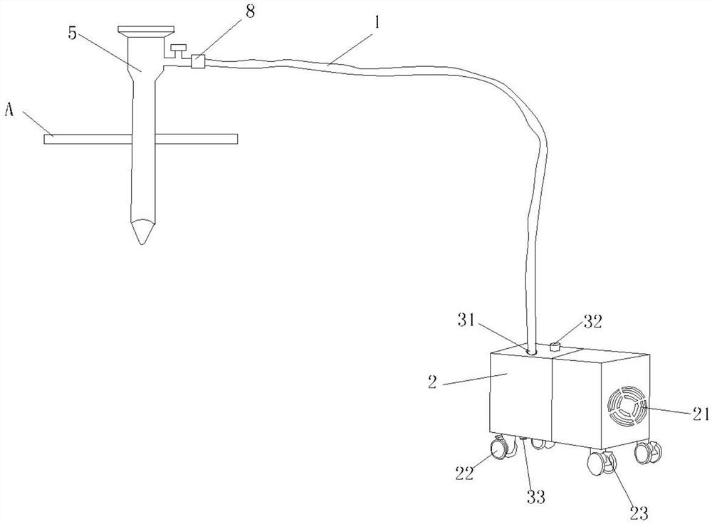
| 摘要: | 本实用新型公开了一种医用腔镜术中烟雾气体排放装置,用于与连接穿刺器并收集手术烟雾,包括有导管、收集器和过滤器,所述导管一端连接穿刺器的戳卡,导管的另一端连接收集器,所述收集器和过滤器设于一移动箱内,所过滤器设于收集器侧边,所述收集器用于收集水蒸气和二氧化碳,解决了现有烟雾过多造成手术视野不清晰、操作难、手动放气而延长手术时间、手术人员吸入废气危害健康的问题。 | ||||
| 补充信息 | |||||
| 转让方式: | 成熟度: | 预估价值: | |||
| 市场前景: | |||||