样品
成果详情
| 项目简介 | |||||
|---|---|---|---|---|---|
| 技术简介: | |||||
| 专利类型: | 实用新型 | 专利申请号: | CN202123020807.6 | 公开号: | CN216676088U |
| 专利权人: | 南方医科大学珠江医院 | 发明设计人: | 谢珠蓉 | ||
| 所属领域: | |||||
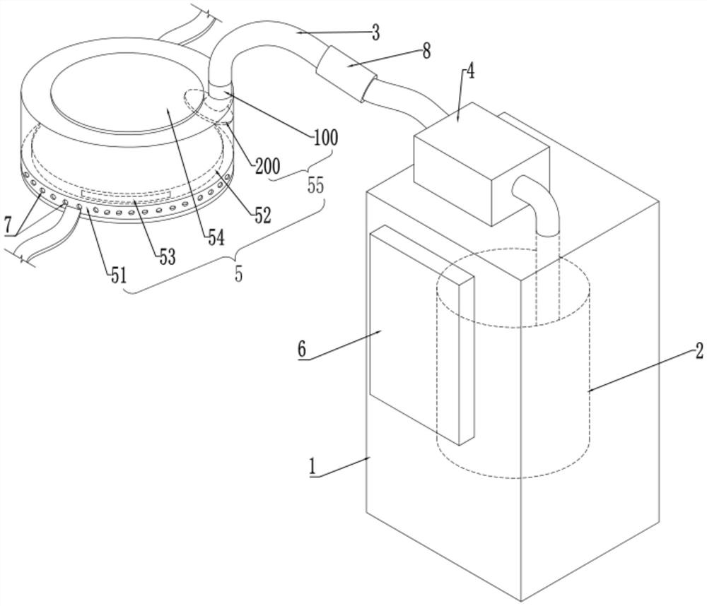
| 摘要: | 本实用新型公开了一种改良的恒温湿敷器,包括带有药液盒的恒温机,所述药液盒通过输液管经一安装在所述恒温机上的输液泵连接有湿敷装置,在所述恒温机的外壁上设有控制器,所述湿敷装置包括能够贴附固定在患者皮肤上且内部空腔下端敞开口的湿敷座,在所述湿敷座的底部开口上设有敷料层,在所述敷料层上设有一用于监测该敷料层内药液的温、湿度的传感器,还包括设在所述湿敷座的顶部工作时用于显示所述敷料层内药液的温、湿度状态的显示屏,在所述湿敷座的顶部外缘设有一用于与所述输液管连接的加液组件,其中,所述输液泵、传感器、显示屏均与所述控制器电连接。本实用新型具有操作方便、能够保证药液湿敷的温度和湿度的优点。 | ||||
| 补充信息 | |||||
| 转让方式: | 成熟度: | 预估价值: | |||
| 市场前景: | |||||