样品
成果详情
| 项目简介 | |||||
|---|---|---|---|---|---|
| 技术简介: | |||||
| 专利类型: | 实用新型 | 专利申请号: | CN202421214892.0 | 公开号: | CN222676469U |
| 专利权人: | 南方医科大学珠江医院 | 发明设计人: | 吴敏艳 | ||
| 所属领域: | |||||
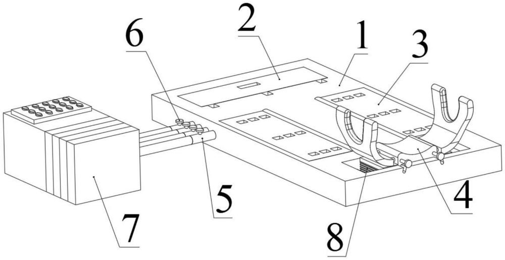
| 摘要: | 本实用新型目的在于提出一种辅助新生儿听力检测的装置,涉及医疗器械技术领域,在底座的顶部转动安装头部限位装置,将枕座与底座转轴连接,并在枕座的两侧滑动连接弧形的限位板,将新生儿放置在底座上头靠枕座,通过枕座两侧的限位板卡住头部,通过给一侧的扇形折叠气囊充气另一侧放气,使枕座向一侧转动,带动新生儿的头部偏转,使新生儿头部侧朝一侧,不需要医护人员手扶新生儿头部,解放双手,方便医护人员操作新生儿听力筛查仪;在底座两侧的侧槽内转动安装撑板,通过给一侧的扇形折叠气囊充气,支撑着撑板向上转动,从而将底座上的新生儿的一侧撑起,避免新生儿头部侧偏时身体不动,导致扭到新生儿的脖子,造成不适和伤害。 | ||||
| 补充信息 | |||||
| 转让方式: | 成熟度: | 预估价值: | |||
| 市场前景: | |||||