样品
成果详情
| 项目简介 | |||||
|---|---|---|---|---|---|
| 技术简介: | |||||
| 专利类型: | 实用新型 | 专利申请号: | CN202022397277.6 | 公开号: | CN213875484U |
| 专利权人: | 南方医科大学南方医院 | 发明设计人: | 徐维敏;曾伟雄;文婵娟;陈卫国;曾辉;秦耿耿;马乐 | ||
| 所属领域: | |||||
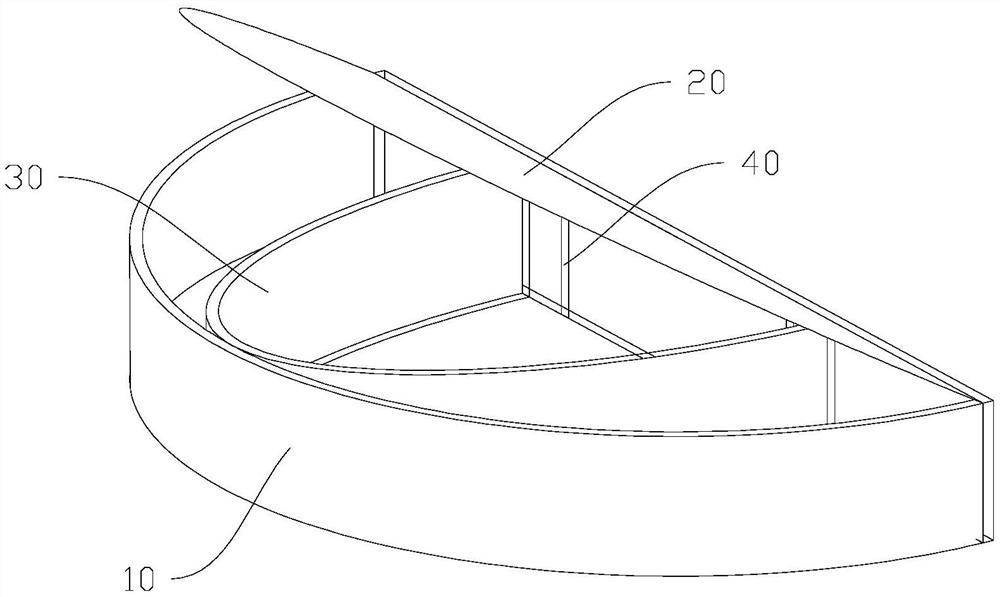
| 摘要: | 本实用新型公开了一种组织标本X线辅助摄影装置,包括承载容器,承载容器包括底盒和盖板,底盒包括侧板和底板,侧板包括弧形板和平板,弧形板的两端均连接在平板上,盖板可启闭地覆盖在底盒的顶面上,底盒与盖板之间形成承载空间;间隔件,间隔件位于承载空间中,间隔件的两端均可拆卸连接在平板的内侧。本实用新型通过将乳腺组织放入承载空间中,底板和盖板能有效地压迫乳腺标本,使乳腺标本被有效定位定型,更有利于X线拍摄成像,且可在多个不同的装置运用不同的技术多次拍摄,优化摄影流程和条件。另外,通过在承载空间中安装间隔件,并将乳腺组织放入间隔件与底盒之间,则能更好地适应不同体积的乳腺组织,使本实用新型的适用范围更广泛。 | ||||
| 补充信息 | |||||
| 转让方式: | 成熟度: | 预估价值: | |||
| 市场前景: | |||||