样品
成果详情
| 项目简介 | |||||
|---|---|---|---|---|---|
| 技术简介: | |||||
| 专利类型: | 实用新型 | 专利申请号: | CN201921126425.1 | 公开号: | CN211095573U |
| 专利权人: | 南方医科大学南方医院 | 发明设计人: | 蔡丽丹;杨云;彭金萍;周丹;唐翀 | ||
| 所属领域: | |||||
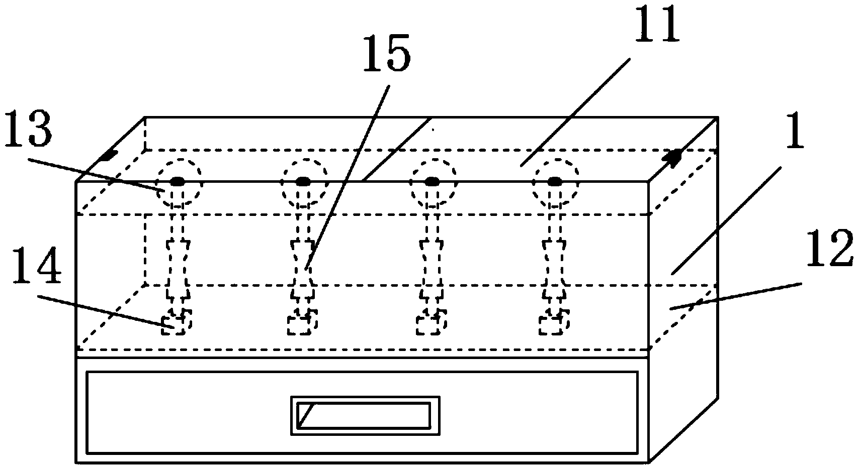
| 摘要: | 本实用新型提供了一种外挂式约束带移动收集箱,移动收集箱设置有左右两个对开式的透明盖板,左盖板上表面的右侧设置有插销,右盖板的上表面左侧设置有插销座;移动收集箱内设置有上部的约束带收集仓以及下部的抽屉,约束带收集仓的顶板上设置有若干个通孔,在各通孔内均配置有一滚珠丝杠结构,滚珠丝杠结构的丝杠底部安装在通孔底部的轴承座上,滚珠丝杠结构的滚珠为两头大中间小的滚珠套筒,滚珠套筒底部一侧设置有一钩子,在滚珠套筒的顶部一侧设置有金属夹;在移动收集箱的一侧侧板上设置有一排挂钩。通过挂钩可挂在输液车及治疗车和病区外墙上,方便护士及时取用,同时整理的约束带不容易发生缠绕,取用方便。 | ||||
| 补充信息 | |||||
| 转让方式: | 成熟度: | 预估价值: | |||
| 市场前景: | |||||