样品
成果详情
| 项目简介 | |||||
|---|---|---|---|---|---|
| 技术简介: | |||||
| 专利类型: | 实用新型 | 专利申请号: | CN202020318244.5 | 公开号: | CN212880496U |
| 专利权人: | 南方医科大学南方医院 | 发明设计人: | 陈细婷;张艺霞;覃利娜 | ||
| 所属领域: | |||||
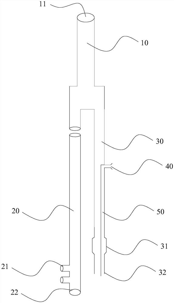
| 摘要: | 本实用新型公开了一种分离型吸氧管,包括吸氧主管,吸氧主管包括氧气接入端和氧气输出端,氧气输出端一分为二形成第一端口和第二端口,第一端口可拆卸地连接有第一侧管,第一侧管与第一端口之间设置有分隔膜密闭式接头,第二端口连接有第二侧管,第一侧管的自由端形成第一套接口,第二侧管的自由端形成有第二套接口,第一套接口和第二套接口嵌套配合后形成可拆卸的密封连接结构,第一侧管上形成有两个间隔分布的鼻塞孔柱,第二侧管还形成有膨胀结构,膨胀结构位于第二套接口和第二端口之间。该分离型吸氧管既能够很好的适用于口鼻腔吸氧患者以及气管切开患者,从而大大增加了其通用性,也能够避免使用过程中吸氧管滑脱的现象发生。 | ||||
| 补充信息 | |||||
| 转让方式: | 成熟度: | 预估价值: | |||
| 市场前景: | |||||