样品
成果详情
| 项目简介 | |||||
|---|---|---|---|---|---|
| 技术简介: | |||||
| 专利类型: | 实用新型 | 专利申请号: | CN202222121188.8 | 公开号: | CN217876666U |
| 专利权人: | 南方医科大学深圳医院 | 发明设计人: | 李静文 | ||
| 所属领域: | |||||
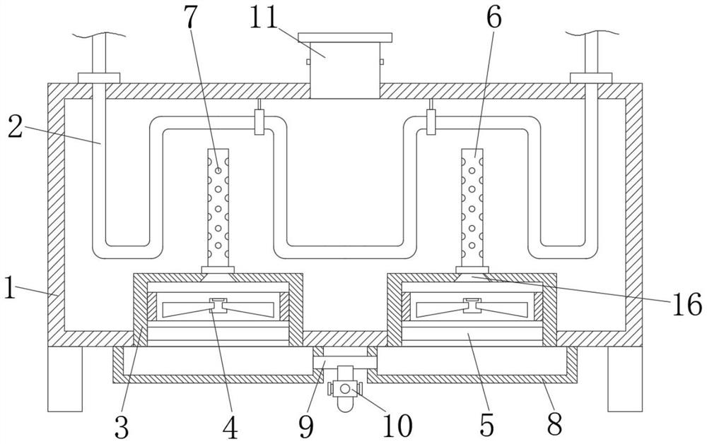
| 摘要: | 本实用新型公开了一种体外循环机用热交换器,包括交换器壳体,所述交换器壳体的内壁嵌设安装有循环导液管,且交换器壳体的内底壁开设有两个位置相对应的安装孔,安装孔的内壁固定连接有固定盒,固定盒的内壁固定安装有半导体制冷片。该体外循环机用热交换器,通过设置固定盒、半导体制冷片、散热导风扇和导风套筒,利用散热导风扇可以将半导体制冷片制热端发出的热量输送至导风套筒中,在利用导风套筒表面若干个出风孔将热空气均匀散发在交换器壳体的内部,从而方便对交换器壳体中的循环导液管进行加热处理,实现对体外循环机处理的循环血液进行加热的效果,加热快捷且均匀,提高了加热的效率,有效避免了血液在体外循环过程中发生凝固的情况。 | ||||
| 补充信息 | |||||
| 转让方式: | 成熟度: | 预估价值: | |||
| 市场前景: | |||||