样品
成果详情
| 项目简介 | |||||
|---|---|---|---|---|---|
| 技术简介: | |||||
| 专利类型: | 实用新型 | 专利申请号: | CN202322211456.X | 公开号: | CN221332033U |
| 专利权人: | 南方医科大学深圳医院 | 发明设计人: | 江泽莹;段鸿露;王安婷;黄燕娟 | ||
| 所属领域: | |||||
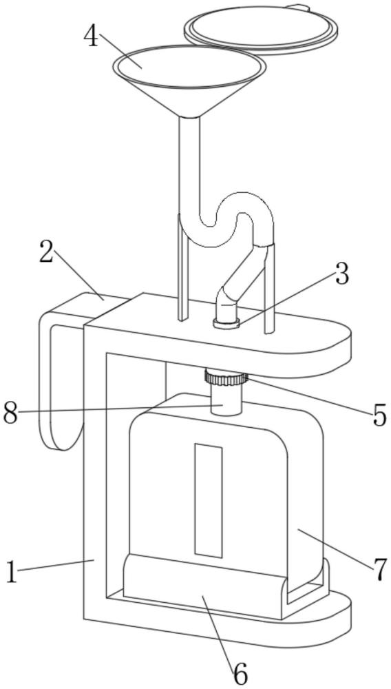
| 摘要: | 本实用新型涉及医疗用品技术领域,公开了一种一次性肿瘤化疗用护理袋,包括固定架,所述固定架的左端上部固定连接有卡架,所述固定架的上架壁中部穿插固定连接有固定管,所述固定管的上端中部穿插固定连接有接污机构,所述固定管的外表面下部活动连接有连接机构,所述固定架的下架壁中部固定连接有限位框,所述限位框内放置有护理袋本体,所述护理袋本体的上袋壁中部穿插固定连接有连接管,且连接管的外表面上部与连接机构固定连接。本实用新型所述的一种一次性肿瘤化疗用护理袋,通过设置接污机构和输污管,能防止异味扩散,提高病房空气质量,通过设置连接机构,便于更换护理袋,提高实用性,适合广泛使用。 | ||||
| 补充信息 | |||||
| 转让方式: | 成熟度: | 预估价值: | |||
| 市场前景: | |||||