样品
成果详情
| 项目简介 | |||||
|---|---|---|---|---|---|
| 技术简介: | |||||
| 专利类型: | 发明 | 专利申请号: | CN202111195815.6 | 公开号: | CN113876408A |
| 专利权人: | 南方医科大学南方医院 | 发明设计人: | 邹莹莹 | ||
| 所属领域: | |||||
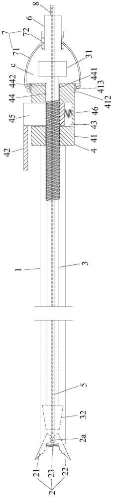
| 摘要: | 本发明公开了一种内镜异物剪,包括外套管,所述外套管的前端有剪刀头,剪刀头具有张开的第一状态和合起的第二状态,外套管内置有可进退的空心螺杆,外套管的后端固定有使空心螺杆自由进退或螺旋进退的控制件,空心螺杆的后端贯穿伸出控制件的后端外并且固定有操作手柄一,空心螺杆的前端固定有可被空心螺杆联动进退的套体,套体于空心螺杆前进时套于剪刀头上使剪刀头呈合起的第二状态,套体于空心螺杆后退时释放剪刀头使剪刀头呈张开的第一状态。本发明的内镜异物剪通过将异物剪断的方式,更为便于异物的取出,大大降低了取出尖锐的异物的风险。 | ||||
| 补充信息 | |||||
| 转让方式: | 成熟度: | 预估价值: | |||
| 市场前景: | |||||