样品
成果详情
| 项目简介 | |||||
|---|---|---|---|---|---|
| 技术简介: | |||||
| 专利类型: | 实用新型 | 专利申请号: | CN201420649216.6 | 公开号: | CN204260780U |
| 专利权人: | 南方医科大学珠江医院 | 发明设计人: | 葛梅;高毅;李阳 | ||
| 所属领域: | |||||
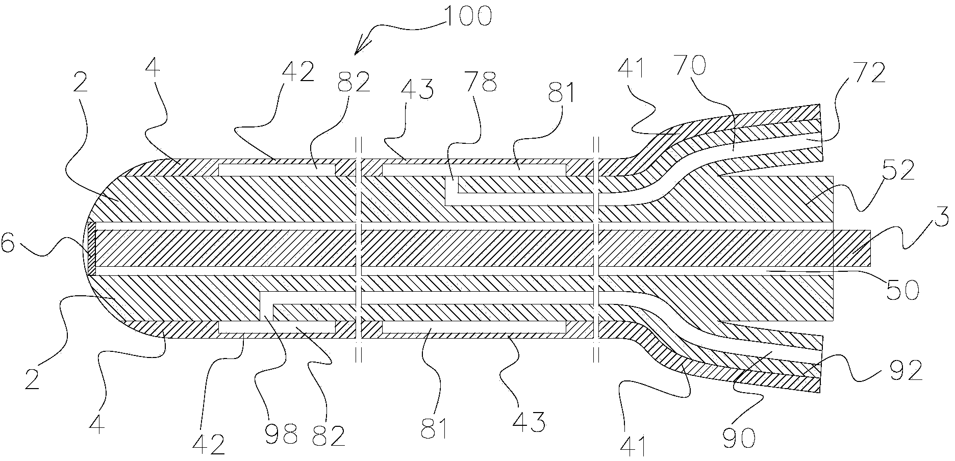
| 摘要: | 本实用新型公开了一种三腔二囊管,包括内管和外管,内管中空形成贯通其首末两端的胃管,该内管的管壁自其首端起,沿纵长方向设置有食管腔和胃腔,该食管腔和胃腔分别以通孔穿出该内管的外壁设置,所述外管套设在所述内管的外壁上,且外管在对应所述内管管壁上的两个通孔处,分别设置用于形成食管囊和胃囊的弹性膨胀部,还包括内导丝,所述内导丝设于所述胃管中。通过在胃管中设有内导丝,增加了内管的硬度,从而使得三腔二囊管具有较大的硬度,便于插置入患者体内,利于提高一次插管成功率。 | ||||
| 补充信息 | |||||
| 转让方式: | 成熟度: | 预估价值: | |||
| 市场前景: | |||||