样品
成果详情
| 项目简介 | |||||
|---|---|---|---|---|---|
| 技术简介: | |||||
| 专利类型: | 实用新型 | 专利申请号: | CN201921655600.6 | 公开号: | CN210895027U |
| 专利权人: | 南方医科大学珠江医院 | 发明设计人: | 黄晓群;黄莉 | ||
| 所属领域: | |||||
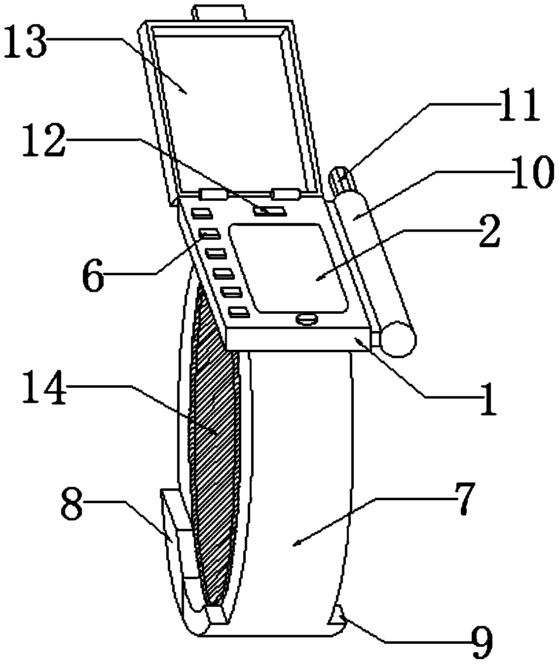
| 摘要: | 本实用新型公开了一种手环闹钟提醒装置,包括壳体两端分别安装有一个手环连接带,所述壳体内固定安装有电池,所述壳体嵌设有显示屏,所述壳体内固定安装有射频连接器、处理芯片,所述壳体顶部的一侧固定设有若干个功能提醒键,其中一个手环连接带上安装有卡扣以及另一个手环连接带上安装有用于与所述卡扣卡合连接的卡块,所述壳体顶部的一端固定安装有电源开关,所述射频连接器和若干个功能提醒键均与处理芯片电性连接,所述处理芯片和显示屏均通过电源开关和电池电性连接。本实用新型结构简单,使用方便,便携性好,可以有效提升工作的时效性,能够很好的适应具有复杂工序的工作。 | ||||
| 补充信息 | |||||
| 转让方式: | 成熟度: | 预估价值: | |||
| 市场前景: | |||||