样品
成果详情
| 项目简介 | |||||
|---|---|---|---|---|---|
| 技术简介: | |||||
| 专利类型: | 实用新型 | 专利申请号: | CN201420363779.9 | 公开号: | CN203988504U |
| 专利权人: | 南方医科大学 | 发明设计人: | 房亚峰;欧阳钧;吴卫东;张晋元;孙培栋;钱蕾 | ||
| 所属领域: | |||||
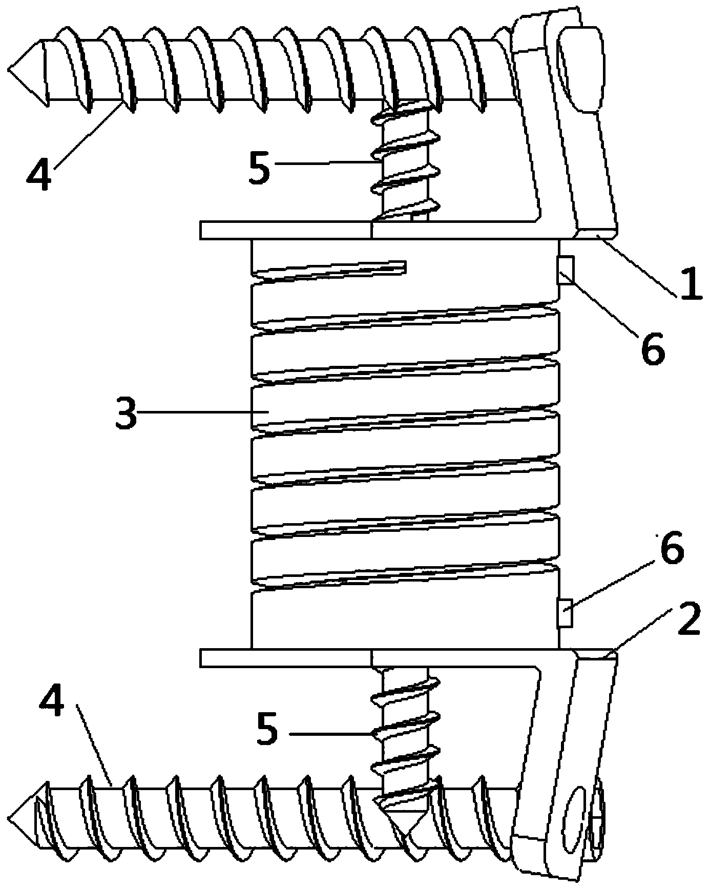
| 摘要: | 本实用新型公开了一种弹性人工椎体,包括上托板和下托板,上托板和下托板的结构均为横板和竖板构成的L形,其中横板为平面结构,横板与脊椎的横截面配合,竖板为曲面结构,竖板与脊椎的侧面配合,还包括弹性支架,所述弹性支架为空心圆柱体,弹性支架固定连接于上托板与下托板之间,弹性支架开有螺纹型孔,弹性支架呈现弹簧状。所述的弹性人工椎体在一定范围内能满足3个自由度变形:旋转变形、轴向变形和弯曲变形,保留了脊柱的弹性稳定性及活动性,实现了弹性固定,同时可以有效改善对邻近节段负荷增加、退变加速等并发症的影响。 | ||||
| 补充信息 | |||||
| 转让方式: | 成熟度: | 预估价值: | |||
| 市场前景: | |||||