样品
成果详情
| 项目简介 | |||||
|---|---|---|---|---|---|
| 技术简介: | |||||
| 专利类型: | 实用新型 | 专利申请号: | CN202220813476.7 | 公开号: | CN217696898U |
| 专利权人: | 南方医科大学深圳医院;王忠东 | 发明设计人: | 王忠东;何文丹 | ||
| 所属领域: | |||||
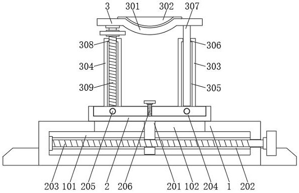
| 摘要: | 本实用新型公开了一种口腔正畸装置,包括底座、位于底座顶部上方的活动架以及位于活动架顶部上方的支撑座,所述底座包括设置在底座内部的活动槽,且底座的顶部设置有贯穿至活动槽内部的空槽,所述活动架底部的中间位置处设置有贯穿至活动槽内部的活动块,所述活动槽内部的两端皆设置有贯穿至活动块内部的限位杆。本实用新型通过螺纹杆外侧的外螺纹和活动块内部的螺纹孔相互配合,可使活动块在空槽内部左右移动,通过限位孔可使活动块与限位杆发生滑动,通过限位杆使活动块的活动更加稳定,实现带动活动架左右移动,通过滑块可使活动座与滑杆发生滑动,通过限位栓对活动座和活动架进行限位,实现对支撑座的前后左右进行调节。 | ||||
| 补充信息 | |||||
| 转让方式: | 成熟度: | 预估价值: | |||
| 市场前景: | |||||