样品
成果详情
| 项目简介 | |||||
|---|---|---|---|---|---|
| 技术简介: | |||||
| 专利类型: | 实用新型 | 专利申请号: | CN202220927829.6 | 公开号: | CN217408159U |
| 专利权人: | 南方医科大学珠江医院 | 发明设计人: | 林静纯;钱俊;胡露;黄春容;姜雯频 | ||
| 所属领域: | |||||
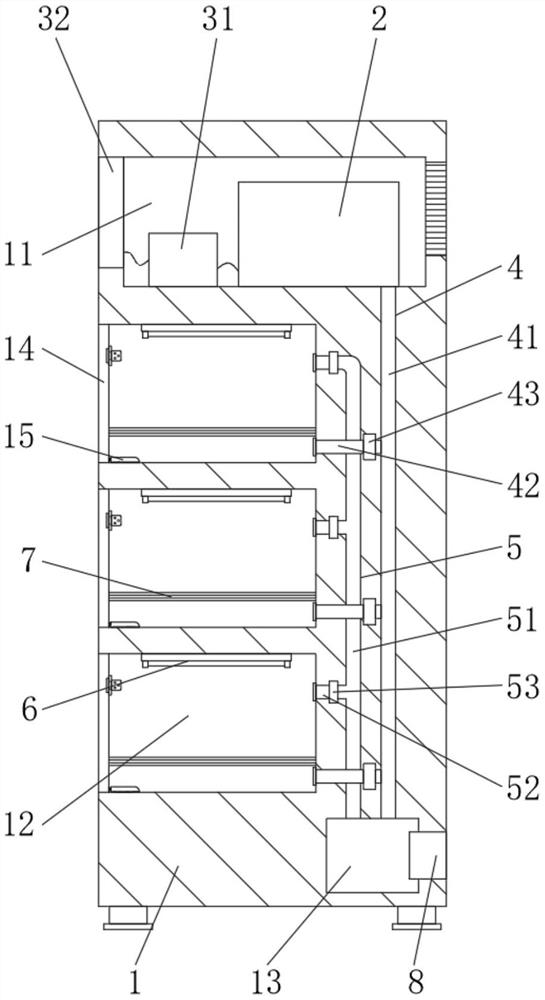
| 摘要: | 本实用新型公开了一种多功能医用鞋柜。一种多功能医用鞋柜,包括鞋柜本体,其中,在所述鞋柜本体的内部上方设有控制间,所述控制间内设有热风机和控制处理组件,在所述鞋柜本体的内部设有排气间和若干个收纳间,所述热风机通过热风管与所述收纳间、排气间连接在一起,以及,所述收纳间通过排气管与排气间连接在一起,在所述收纳间内装设有消毒灯,在所述排气间内设有能够连通外界大气的排气扇,所述热风机、消毒灯、排气扇均与控制处理组件连接在一起,在所述鞋柜本体的侧面设有雨伞架。本实用新型一种多功能医用鞋柜,使用方便,能够提高空间使用率并且杀菌效果好。 | ||||
| 补充信息 | |||||
| 转让方式: | 成熟度: | 预估价值: | |||
| 市场前景: | |||||