样品
成果详情
| 项目简介 | |||||
|---|---|---|---|---|---|
| 技术简介: | |||||
| 专利类型: | 实用新型 | 专利申请号: | CN202222893060.3 | 公开号: | CN218708305U |
| 专利权人: | 南方医科大学南方医院 | 发明设计人: | 廖莹莹;林少燕;陈艳娴;江冬秀;赵桂玲;朱文浩 | ||
| 所属领域: | |||||
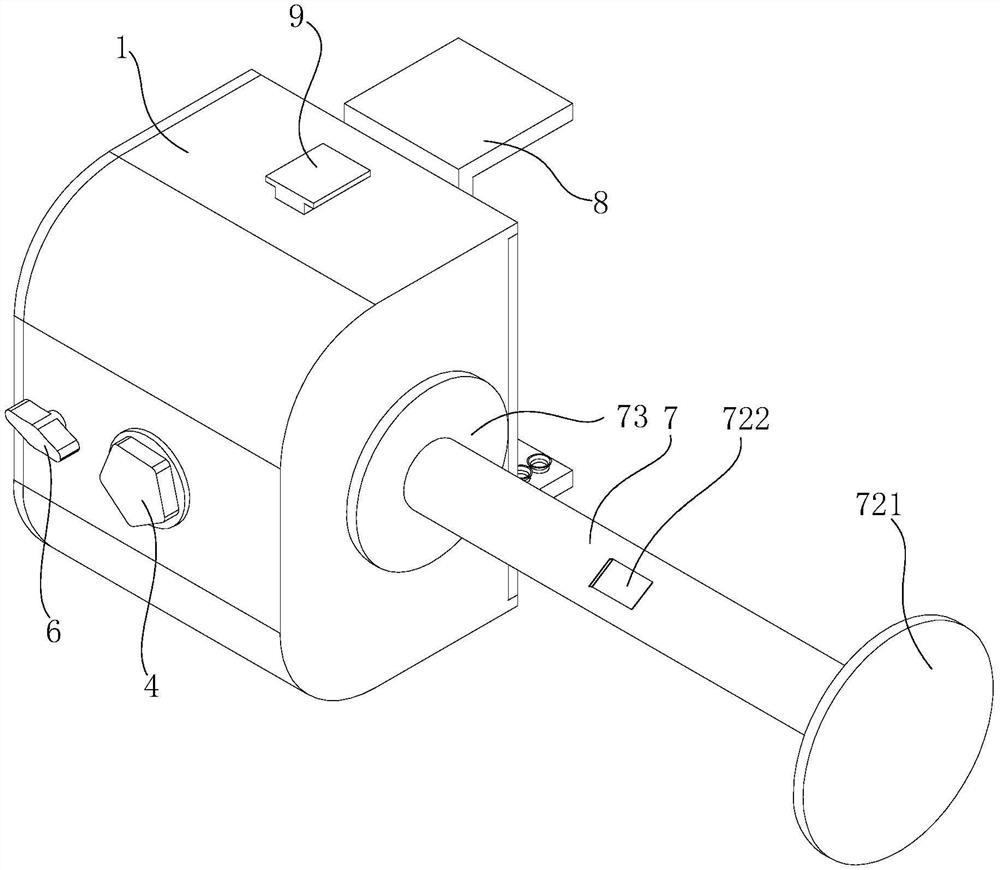
| 摘要: | 本实用新型公开了一种模块化拼接的自保持绕线器,属于医用仪器绕线器技术领域,包括壳体、绕线柱和可伸缩的吸盘夹;壳体与绕线柱转动连接,绕线柱伸入壳体内;壳体内安装有依次套接于绕线柱外的绕线扭簧、蓄能齿和定位棘轮;绕线扭簧分别与壳体和蓄能齿连接固定;壳体上转动安装有蓄能把手和滑动安装有可自复位的棘轮提手;蓄能把手与蓄能齿轮传动连接;棘轮提手的滑动用于控制定位棘轮的转动;吸盘夹安装于壳体上;壳体上与绕线柱平行的相对两侧面上分别设有连接凸块和连接槽块;通过蓄能把手驱动绕线柱进行线束收纳,同时绕线扭簧同步蓄能,给绕线柱提供释放线束的动力;通过连接凸块和连接槽块连接实现多个自保持绕线器的模块化拼接。 | ||||
| 补充信息 | |||||
| 转让方式: | 成熟度: | 预估价值: | |||
| 市场前景: | |||||