样品
成果详情
| 项目简介 | |||||
|---|---|---|---|---|---|
| 技术简介: | |||||
| 专利类型: | 实用新型 | 专利申请号: | CN202121382129.5 | 公开号: | CN215584292U |
| 专利权人: | 南方医科大学珠江医院 | 发明设计人: | 李辉;陈群清;童健;张福伟;贾龙飞;黄洋;冯靖 | ||
| 所属领域: | |||||
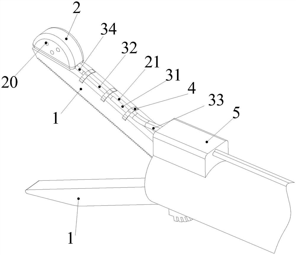
| 摘要: | 本公开属于医疗器械领域,公开一种新型腔镜吸引分离钳,包括相互咬合的夹钳,任一夹钳的背面设置有吸附头,吸附头上开设有吸附孔,吸附头上连接有吸附管,吸附管与吸附孔之间连通;背离夹钳的吸附头侧面呈凸起状。本公开既可以在手术时夹持、分离组织,钳头闭合后亦可以用来做为吸引器发挥吸引及剥离、推挡的功能。 | ||||
| 补充信息 | |||||
| 转让方式: | 成熟度: | 预估价值: | |||
| 市场前景: | |||||