样品
成果详情
| 项目简介 | |||||
|---|---|---|---|---|---|
| 技术简介: | |||||
| 专利类型: | 实用新型 | 专利申请号: | CN202320096673.6 | 公开号: | CN219022661U |
| 专利权人: | 南方医科大学珠江医院 | 发明设计人: | 林辉佳 | ||
| 所属领域: | |||||
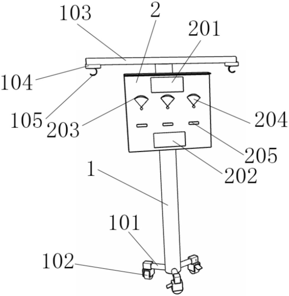
| 摘要: | 本实用新型涉及床头牌技术领域,且公开了一种复苏用交接床头牌,包括输液杆,输液杆的正面固定连接有床头牌,床头牌正面的顶部固定连接有房号显示器,床头牌正面的底部固定连接有时间显示器,床头牌的正面开设有三个状态展示孔,三个圆柱杆外侧的背面均固定套接有从动齿轮,三个圆柱杆外侧的正面均固定套接有状态圆盘,旋转杆的外侧固定套接有主动齿轮,旋转杆的正面固定连接有切换旋钮,本实用新型通过设有状态展示孔,通过转动切换旋钮,继而带动状态圆盘转动,当状态圆盘上面的所需的展示的状态与状态展示孔对齐时,停止转动切换旋钮,下一位医护人员可直接通过状态展示孔判断出患者所处的情况,结构简单,使用方便,实用性很强。 | ||||
| 补充信息 | |||||
| 转让方式: | 成熟度: | 预估价值: | |||
| 市场前景: | |||||