样品
成果详情
| 项目简介 | |||||
|---|---|---|---|---|---|
| 技术简介: | |||||
| 专利类型: | 实用新型 | 专利申请号: | CN201821066374.3 | 公开号: | CN209529563U |
| 专利权人: | 南方医科大学南方医院 | 发明设计人: | 洪庆玲;陈婷;王璐;叶少兰;周朝修 | ||
| 所属领域: | |||||
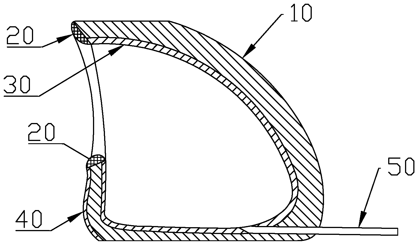
| 摘要: | 本实用新型公开了卧床排尿器,包括尿壶,以尿壶贴向病人排尿口的外壁为前壁,尿壶上与前壁相对的外壁则为后壁,尿壶的前壁成型有敞口,敞口位于前壁的上部,尿壶通过排尿管连接有负压引流瓶。本实用新型设计敞口位于侧壁上部的尿壶,尿壶的底部连通有负压引流瓶,病人排尿时同时开启负压引流瓶,可防止尿液溢出尿壶,可广泛应用于临床护理领域。 | ||||
| 补充信息 | |||||
| 转让方式: | 成熟度: | 预估价值: | |||
| 市场前景: | |||||