样品
成果详情
| 项目简介 | |||||
|---|---|---|---|---|---|
| 技术简介: | |||||
| 专利类型: | 实用新型 | 专利申请号: | CN202220354868.1 | 公开号: | CN217221585U | 
| 专利权人: | 南方医科大学南方医院 | 发明设计人: | 彭阳;刘靖康 | ||
| 所属领域: | |||||
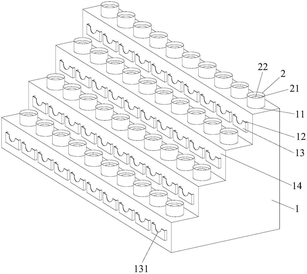
| 摘要: | 本实用新型公开了一种24小时尿检测试管放置架,包括放置架本体,所述放置架本体为阶梯状结构,放置架本体的每个阶梯的顶面有沿阶梯长度方向间隔分布的凹槽,各凹槽内有与凹槽内壁通过螺纹结构吻合以升降调节的定位套,放置架本体的每个阶梯的前侧面有沿阶梯长度方向间隔分布的防腐剂标签插槽,各防腐剂标签插槽与各凹槽一一对应。本实用新型的24小时尿检测试管放置架专门用来放置试管,避免造成试管遗漏,护士交接班时不耽误时间,有专门放置防腐剂标签的位置,不易造成放错防腐剂,保证项目成功。 | ||||
| 补充信息 | |||||
| 转让方式: | 成熟度: | 预估价值: | |||
| 市场前景: | |||||