样品
成果详情
| 项目简介 | |||||
|---|---|---|---|---|---|
| 技术简介: | |||||
| 专利类型: | 实用新型 | 专利申请号: | CN202320657114.8 | 公开号: | CN219630400U |
| 专利权人: | 南方医科大学深圳医院 | 发明设计人: | 温韬雪;张桂梅;吴琼辉;郭凤 | ||
| 所属领域: | |||||
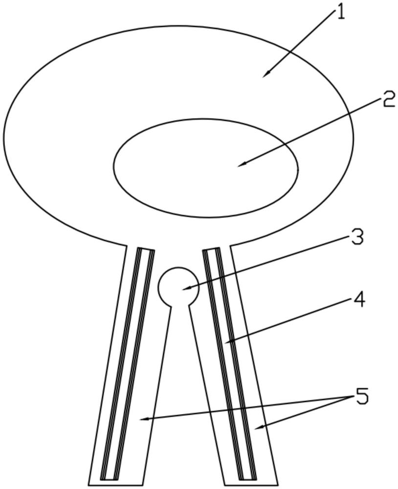
| 摘要: | 本实用新型提供的一种鼻腔可视的防护型鼻贴,包括用于粘接在鼻子上的第一粘接部和用于连接固定管道的第二粘接部;第一粘接部开设有用于观察的可视部;第二粘接部至少设有两个,且与第一粘接部的下方连接,连接后朝远离第一粘接部方向延伸形成条形粘接部;通过设置可视部,使得鼻贴即使连接以后鼻腔也可视,既能及时查看,也可以减少对患者皮肤的刺激;方便实用。 | ||||
| 补充信息 | |||||
| 转让方式: | 成熟度: | 预估价值: | |||
| 市场前景: | |||||