样品
成果详情
| 项目简介 | |||||
|---|---|---|---|---|---|
| 技术简介: | |||||
| 专利类型: | 发明 | 专利申请号: | CN202110751703.8 | 公开号: | CN113476199A |
| 专利权人: | 南方医科大学南方医院 | 发明设计人: | 林晓萍;陈辉 | ||
| 所属领域: | |||||
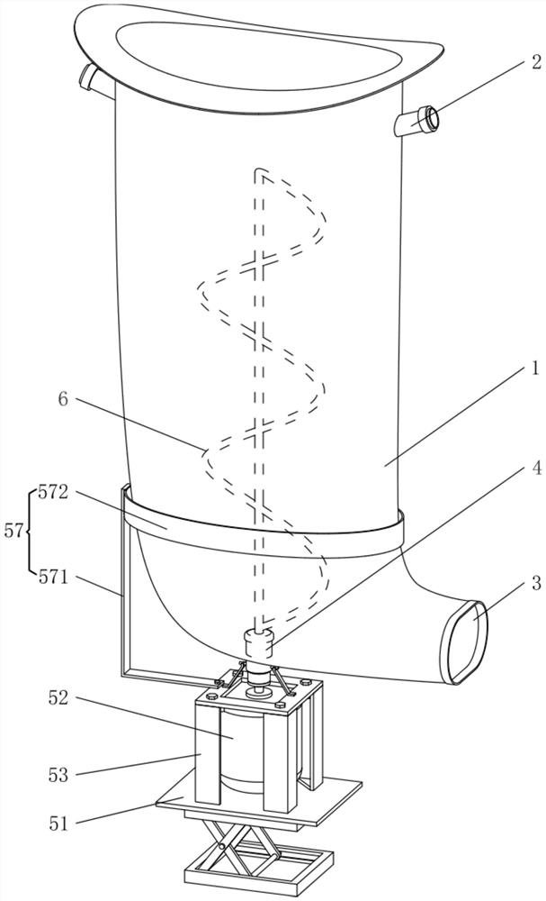
| 摘要: | 本发明公开了一种改良的肛周造口袋结构,包括带有胶贴的造口袋袋体,在所述造口袋袋体上端设有至少一个冲液接口,所述冲液接口通过管道与外部输液装置连接,在所述造口袋袋体下端一侧开设有排便口,所述排便口通过管道与外部负压吸引装置连接,以及,在所述造口袋袋体底部设有传动结构,所述传动结构的两端分别位于造口袋袋体的内外两侧,其中,所述传动结构下端与一位于造口袋袋体外的驱动装置可拆卸连接,所述驱动装置通过传动结构与一位于造口袋袋体内的搅拌轴传动连接。本发明具有能够防止堵塞、有效避免污染环境等优点。 | ||||
| 补充信息 | |||||
| 转让方式: | 成熟度: | 预估价值: | |||
| 市场前景: | |||||