样品
成果详情
| 项目简介 | |||||
|---|---|---|---|---|---|
| 技术简介: | |||||
| 专利类型: | 实用新型 | 专利申请号: | CN202121716564.7 | 公开号: | CN215023911U | 
| 专利权人: | 南方医科大学南方医院 | 发明设计人: | 陈少瑜;邓瑛瑛 | ||
| 所属领域: | |||||
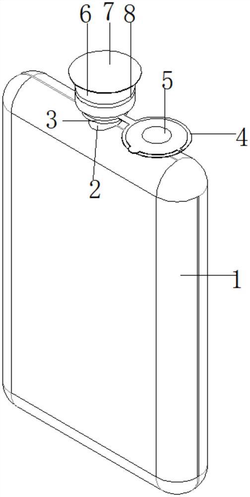
| 摘要: | 本实用新型公开了一种输液袋瓶口无菌保护装置,涉及输液袋技术领域,针对解决了医护人员对输液袋加完药之后就很容易忘记封口,而导致内部细菌感染的问题,现提出如下方案,包括瓶体,所述瓶体的顶部固定有瓶颈。本实用新型将离型纸、瓶口贴和瓶体进行固定连接,而且瓶口设有警示条,以此提醒医护人员对瓶口进行封口,保护瓶内药剂,离型纸、瓶口贴的一端相互连接,省去了使用后将离型纸、瓶口贴丢进垃圾桶的操作,避免医护人员随手丢弃时导致的地面或桌面杂乱问题。 | ||||
| 补充信息 | |||||
| 转让方式: | 成熟度: | 预估价值: | |||
| 市场前景: | |||||