样品
成果详情
| 项目简介 | |||||
|---|---|---|---|---|---|
| 技术简介: | |||||
| 专利类型: | 实用新型 | 专利申请号: | CN202021160934.9 | 公开号: | CN213251700U |
| 专利权人: | 南方医科大学南方医院 | 发明设计人: | 陈婷;洪庆玲;刘江兰;罗琼;何建刚 | ||
| 所属领域: | |||||
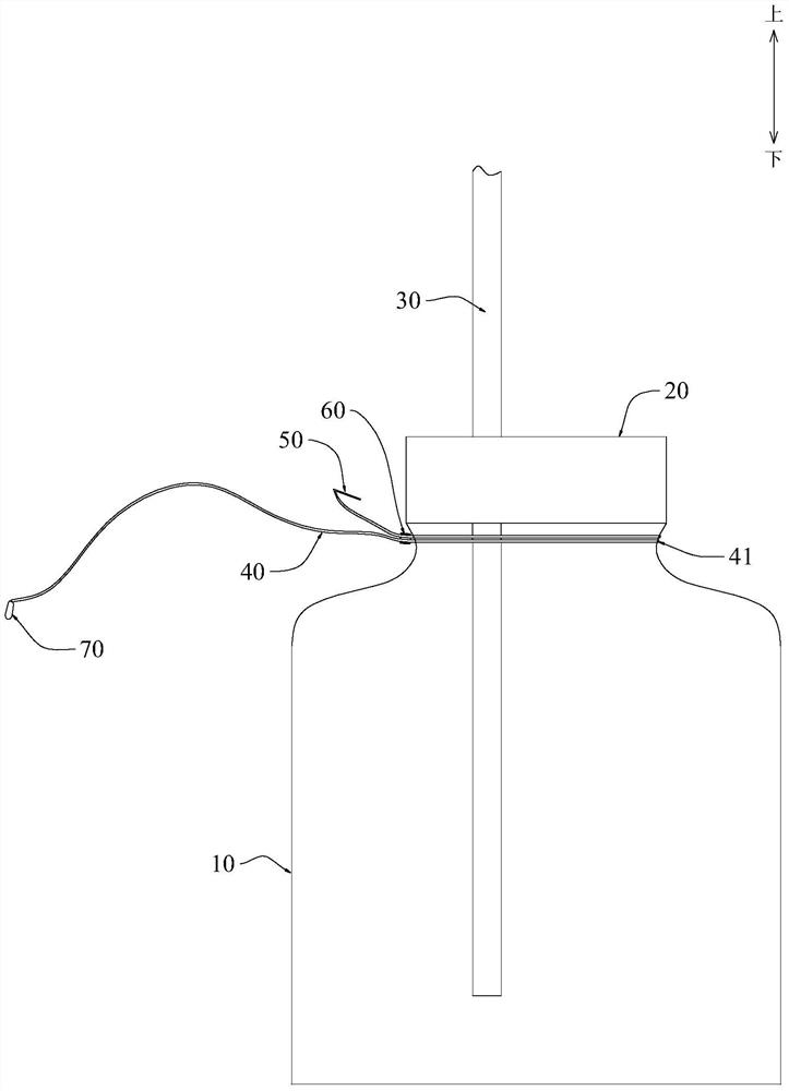
| 摘要: | 本实用新型公开了一种负压引流瓶,包括瓶身;柔性带,固定设置在所述瓶身的颈部,所述柔性带沿自身长度方向设置有若干个间隔分布的穿孔;以及倒挂结构件,固定设置在所述瓶身的颈部,所述倒挂结构件具有倒钩,所述柔性带的穿孔嵌入至所述倒钩的沟槽内,使得所述柔性带反向弯曲并与所述倒挂结构件构成一个闭合结构。通过柔性带反向弯曲并与倒挂结构件连接构成一个闭合结构,整个负压引流瓶可以通过闭合结构悬挂在手术台上或者床头的栏杆上,有效的实现了负压引流瓶的稳定放置,避免了意外跌落或者打翻的情形发生。 | ||||
| 补充信息 | |||||
| 转让方式: | 成熟度: | 预估价值: | |||
| 市场前景: | |||||