样品
成果详情
| 项目简介 | |||||
|---|---|---|---|---|---|
| 技术简介: | |||||
| 专利类型: | 实用新型 | 专利申请号: | CN201920168581.8 | 公开号: | CN209635114U |
| 专利权人: | 南方医科大学南方医院 | 发明设计人: | 刘先平;王莉慧 | ||
| 所属领域: | |||||
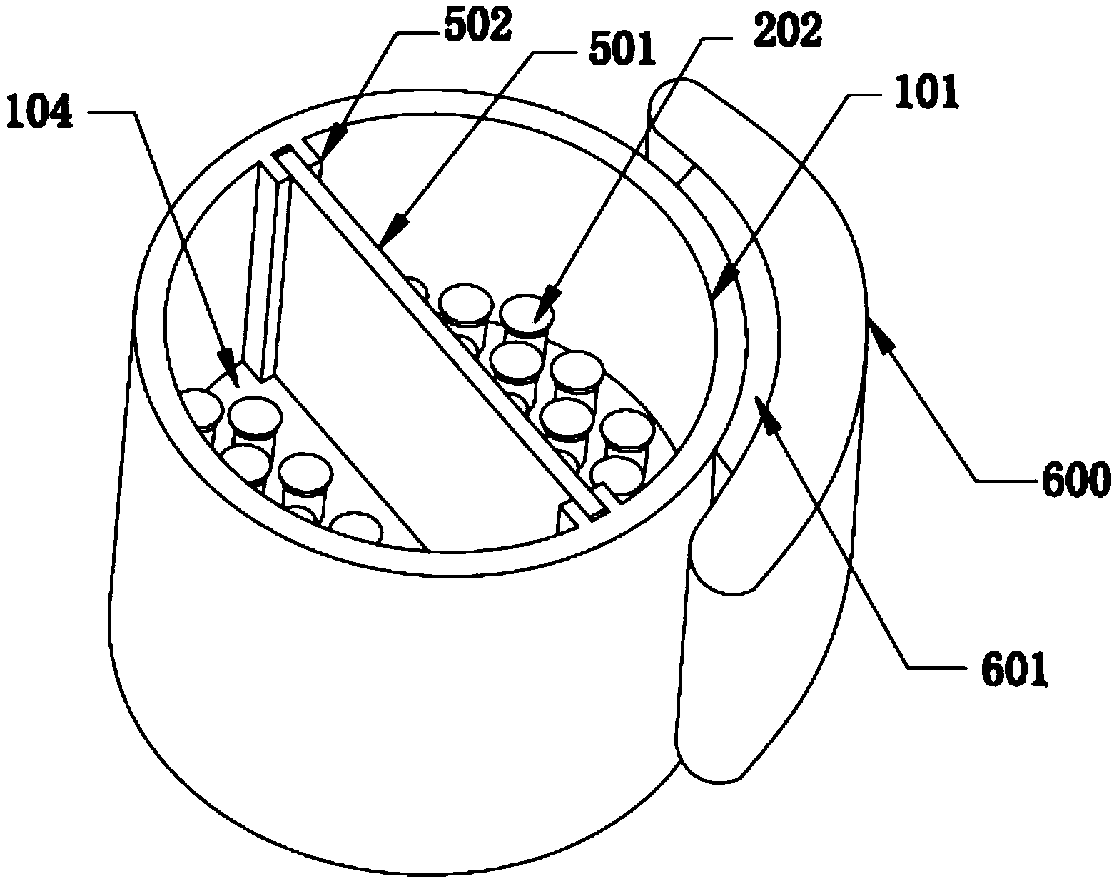
| 摘要: | 本实用新型公开了一种医用污物缸,包括缸体和推板;所述的缸体的底板上设有多个穿透的定位孔;所述的推板位于底板的下方;所述的缸体包括位于底板下方且与推板相对应的限位部;推板位于底板与限位部之间;所述的推板的上端面设有多个柱体,柱体的位置、数量和尺寸与定位孔相匹配;所述的柱体高度大于底板的厚度;所述底板与推板之间设有复位件。本实用新型目的在于提供一种可以方便的将粘在缸底的物质清除的医用污物缸。 | ||||
| 补充信息 | |||||
| 转让方式: | 成熟度: | 预估价值: | |||
| 市场前景: | |||||