样品
成果详情
| 项目简介 | |||||
|---|---|---|---|---|---|
| 技术简介: | |||||
| 专利类型: | 实用新型 | 专利申请号: | CN202223241400.0 | 公开号: | CN219185272U |
| 专利权人: | 南方医科大学南方医院 | 发明设计人: | 杨林;曾方梅;陈丽珊;吴婷婷;周薇;董晖;张丹;许梅;丁洁 | ||
| 所属领域: | |||||
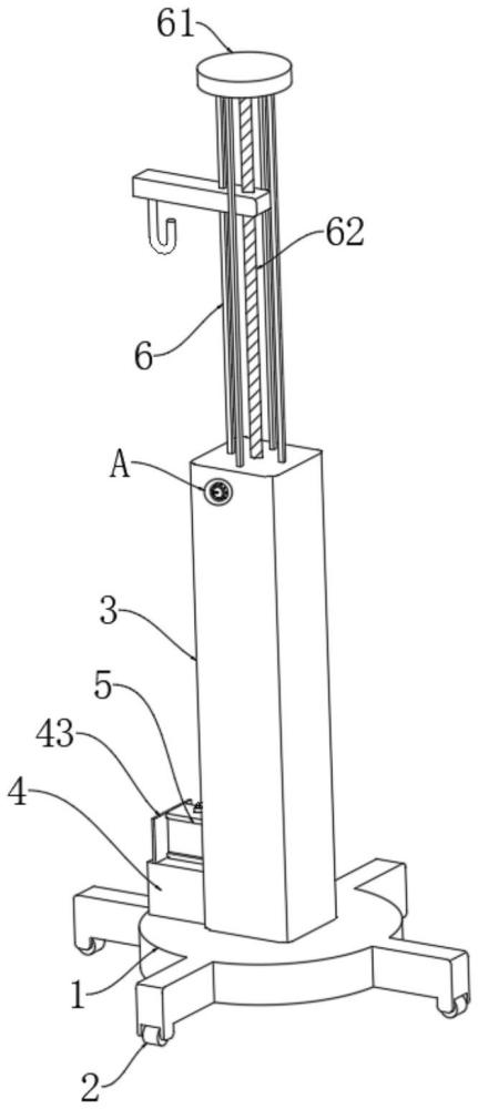
| 摘要: | 本实用新型公开了一种能够方便单手操作的输液架,包括轮架和底轮,轮架的顶部设置有支撑柱,轮架上位于支撑柱的侧面设置有支撑座,支撑座上设置具有方便调节的夹持组件,支撑座上设置有胸腔引流瓶,支撑柱的顶部设置有支撑杆,多个支撑杆的顶部设置有支撑块,支撑块与支撑柱之间设置有转动螺杆,转动螺杆上套接有移动固定架;本实用新型通过传动蜗杆的转动,加上蜗轮和转动螺杆的配合,使得移动固定架和输液挂钩沿着转动螺杆上下移动,进而调节输液瓶的高度,移动卡块与支撑弹簧之间形成弹性卡接结构,与卡槽之间配合,实现对转动螺杆的转动后固定,同时便于病房患者的单手操作,从而有利于输液架的使用效果。 | ||||
| 补充信息 | |||||
| 转让方式: | 成熟度: | 预估价值: | |||
| 市场前景: | |||||