样品
成果详情
| 项目简介 | |||||
|---|---|---|---|---|---|
| 技术简介: | |||||
| 专利类型: | 实用新型 | 专利申请号: | CN201920502504.1 | 公开号: | CN210056095U |
| 专利权人: | 南方医科大学南方医院 | 发明设计人: | 邹莹莹;刘思德;黄颖;罗宇晨;李静 | ||
| 所属领域: | |||||
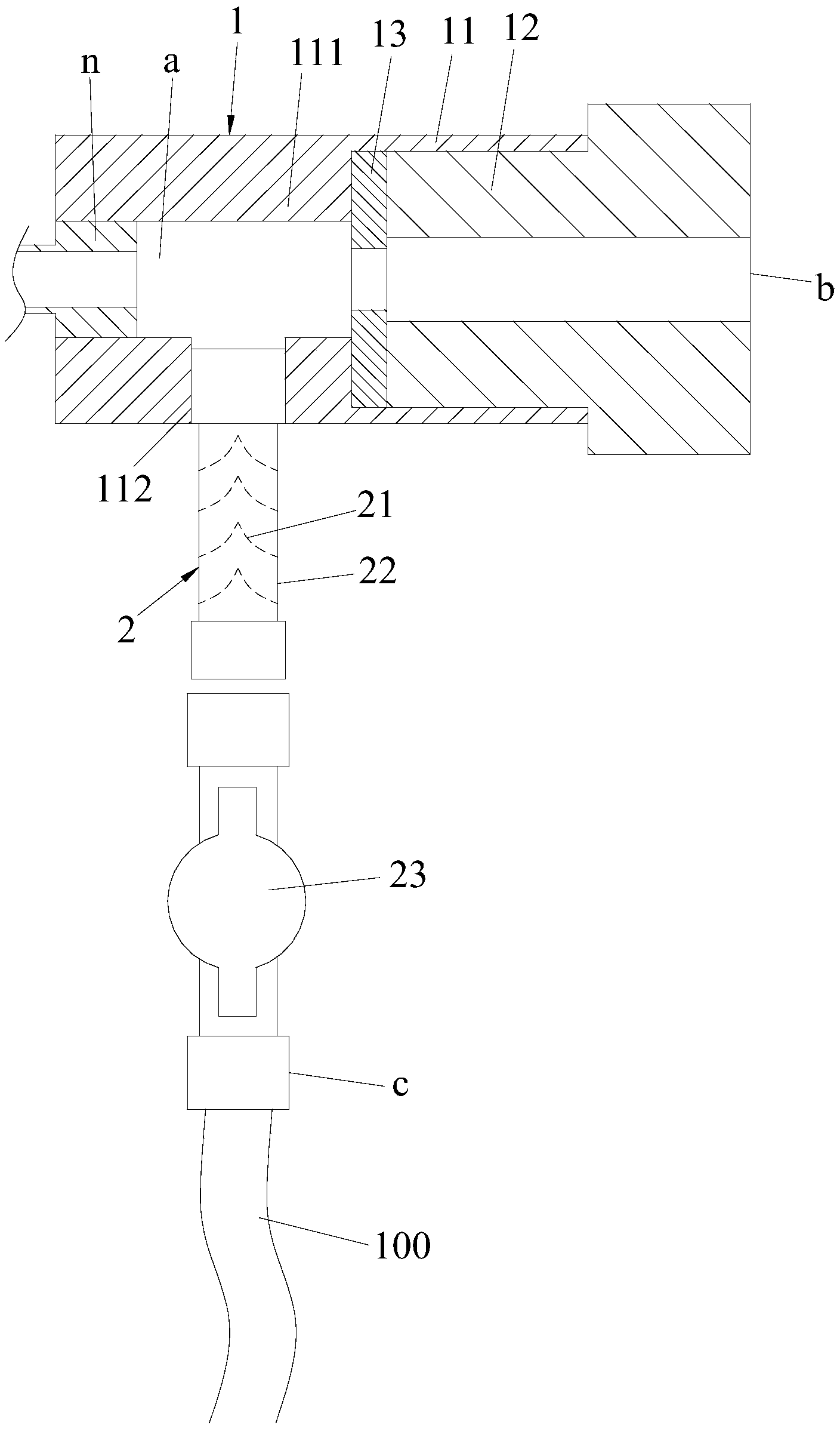
| 摘要: | 本实用新型公开了一种多功能内镜活检孔道装置,包括进配件部和附送水部,进配件部内有连通活检孔道的进配件通道,进配件部的第一端与活检孔道口可拆卸连接,进配件部的第二端为进配件口,附送水部的一端与进配件部可拆卸连接,附送水部的另一端为水管连接端,水管连接端通过进配件通道与活检孔道连通。本实用新型的一种多功能内镜活检孔道装置活检孔道在用于取活检的同时也能附送水,方便了使用。 | ||||
| 补充信息 | |||||
| 转让方式: | 成熟度: | 预估价值: | |||
| 市场前景: | |||||