样品
成果详情
| 项目简介 | |||||
|---|---|---|---|---|---|
| 技术简介: | |||||
| 专利类型: | 实用新型 | 专利申请号: | CN202222988169.5 | 公开号: | CN218688859U |
| 专利权人: | 南方医科大学南方医院 | 发明设计人: | 马崇慧 | ||
| 所属领域: | |||||
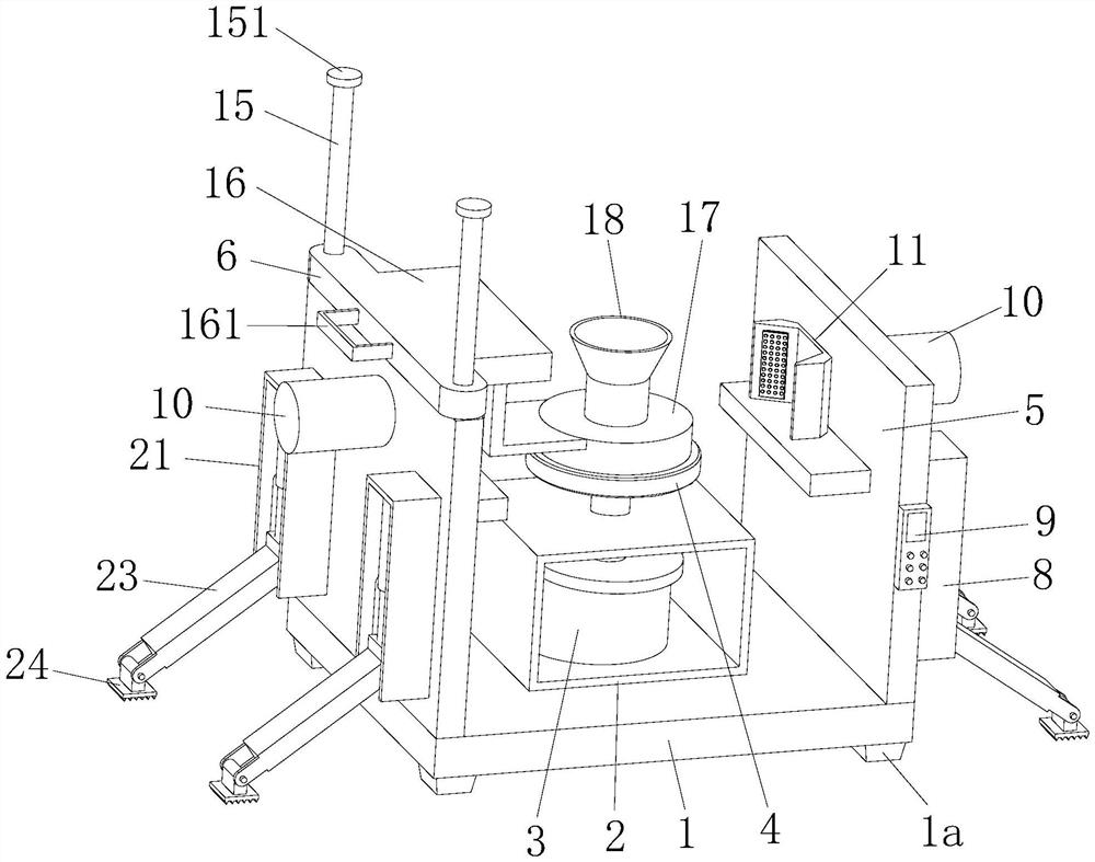
| 摘要: | 本实用新型公开了一种医疗药剂配药用震荡装置,包括底座,所述底座顶部固定有防护外壳和位于防护外壳两侧的两个支撑板,防护外壳的内腔有震荡器,震荡器的输出端贯穿伸出防护外壳的顶部外并连接有用于放置震荡杯的震荡台,所述的两个支撑板相对的一侧分别设置有用于弹性夹持震荡杯的限位机构,其中一个支撑板上设置有可盖于震荡杯顶部的防飞溅机构。本实用新型具备能够对震荡杯进行弹性限位和防止飞溅的优点,解决了在震荡时震荡杯容易移动与防溅杯的内壁碰撞,使得震荡杯内的药剂仍然容易飞溅到防溅杯外,造成污染的问题。 | ||||
| 补充信息 | |||||
| 转让方式: | 成熟度: | 预估价值: | |||
| 市场前景: | |||||