样品
成果详情
| 项目简介 | |||||
|---|---|---|---|---|---|
| 技术简介: | |||||
| 专利类型: | 实用新型 | 专利申请号: | CN202022556077.0 | 公开号: | CN213553270U | 
| 专利权人: | 南方医科大学南方医院 | 发明设计人: | 袁志云;黄平;谭乐宜 | ||
| 所属领域: | |||||
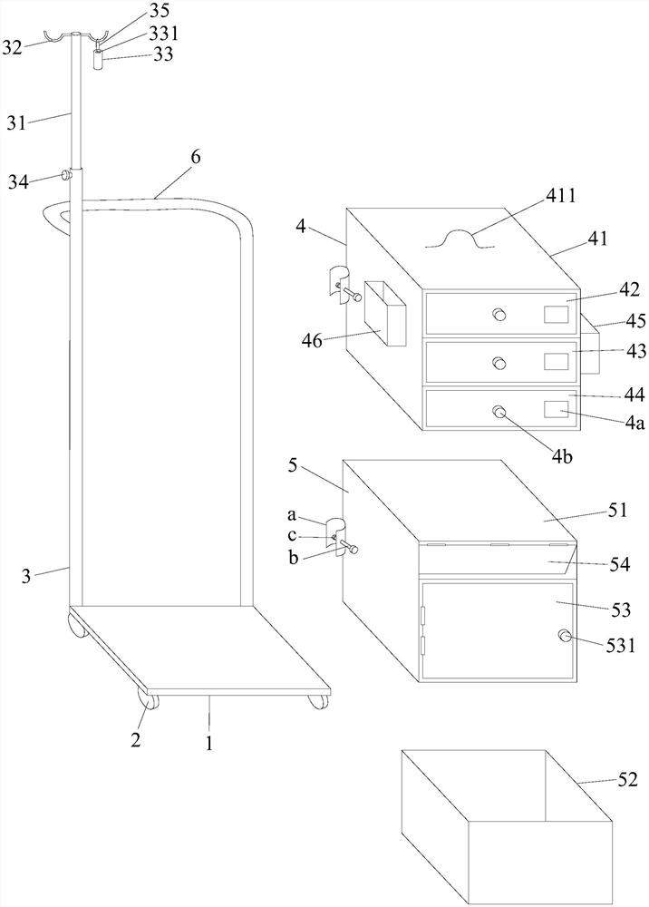
| 摘要: | 本实用新型公开了一种床边隔离用的治疗车,包括底板,底板的左后端和右后端均分别固定有一条竖杆,左后端的竖杆上可拆卸固定有上层箱体和下层箱体,上层箱体包括箱主体一,箱主体一内安装有前后抽拉的用于放置医用手套的上层抽屉、用于放置血压计、听诊器和体温计的中层抽屉、及用于放置干净隔离衣的下层抽屉,箱主体一的右侧安装有壁挂式擦手纸盒、左侧安装有置物筐,下层箱体包括箱主体二,箱主体二的内有垃圾筐,箱主体二的前侧有开关门和前推盖,左后端的竖杆的上端向上延伸并且安装有伸缩杆,伸缩杆的上端有两个挂钩,其中一个挂钩上悬挂有隔离标识牌,另一挂钩为隔离衣挂钩。本实用新型的床边隔离用的治疗车能使隔离物品具有固定摆放位置。 | ||||
| 补充信息 | |||||
| 转让方式: | 成熟度: | 预估价值: | |||
| 市场前景: | |||||