样品
成果详情
| 项目简介 | |||||
|---|---|---|---|---|---|
| 技术简介: | |||||
| 专利类型: | 实用新型 | 专利申请号: | CN202120616620.3 | 公开号: | CN214594387U | 
| 专利权人: | 南方医科大学南方医院 | 发明设计人: | 姚琳;叶桂荣;王莉慧;史丽莎 | ||
| 所属领域: | |||||
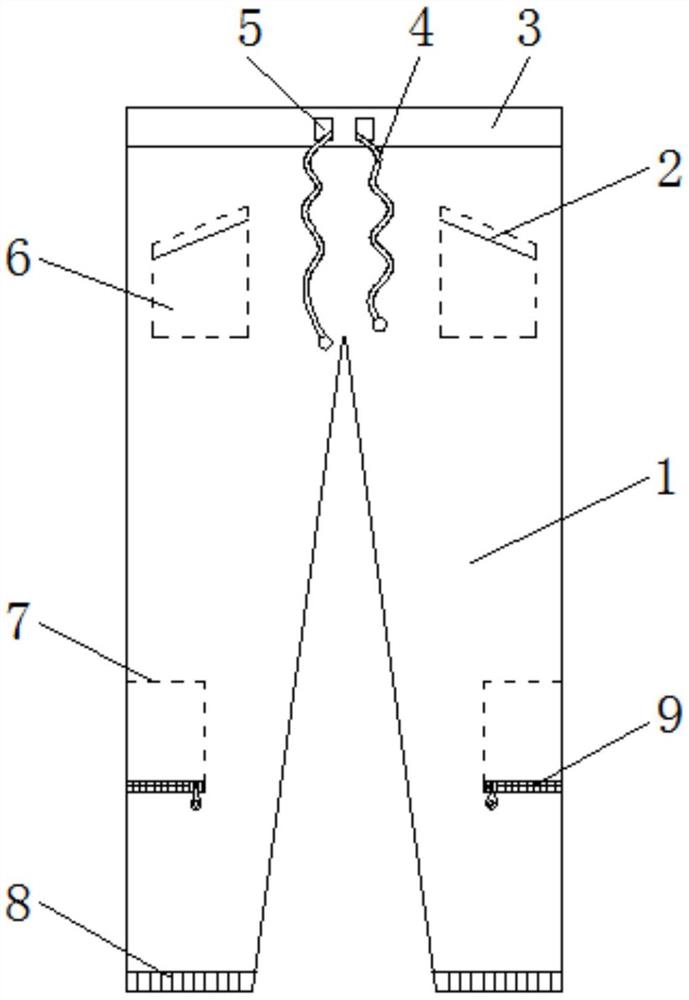
| 摘要: | 本实用新型公开了改良的病号裤,包括裤体,所述裤体顶部的边缘处缝纫连接有裤腰,所述裤腰正表面中心处的两侧均开设有通孔,所述裤腰的内腔贯穿设置有系带,系带的两端分别贯从两侧通孔贯穿至其外部,裤体正表面两侧的顶部均开设有袋口。本实用新型通过裤体、折叠隐藏袋、第一拉链、固定带、第二拉链、拱形拉链、舒适软垫、尿袋放置袋、第一魔术贴和第二魔术贴的配合使用,具备可保护病人隐私的优点,解决了现有的病号裤不方便在穿着的过程中悬挂引流袋,使患者在外出检查或散步时引流袋裸露在外部会使患者的隐私部位显露,从而会影响患者的自尊心,同时,当病人使用导尿管时,需要手持尿袋出行,会令患者非常尴尬的问题。 | ||||
| 补充信息 | |||||
| 转让方式: | 成熟度: | 预估价值: | |||
| 市场前景: | |||||