样品
成果详情
| 项目简介 | |||||
|---|---|---|---|---|---|
| 技术简介: | |||||
| 专利类型: | 实用新型 | 专利申请号: | CN202323486438.9 | 公开号: | CN221600320U |
| 专利权人: | 南方医科大学 | 发明设计人: | 吴耀彬;黄文华;余鎏;李印沐;蒙红芳;韩梦 | ||
| 所属领域: | |||||
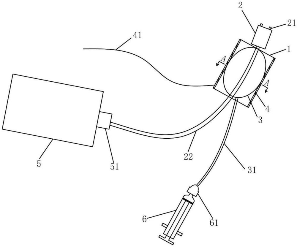
| 摘要: | 本实用新型涉及一种免缝合自粘附柔性肠道支架的递送装置,包括牵引线、载支架模块和保护模块,所述载支架模块包括气囊,所述气囊套设固定在所述牵引线上,所述气囊通过气管与充放气装置连接,所述气囊的外侧套设有免缝合自粘附柔性肠道支架;所述保护模块包括保护膜,所述保护膜固定连接有抽绳,所述保护膜包裹在所述免缝合自粘附柔性肠道支架的外表面。所述递送装置的结构简单、操作便捷,通过设置载支架模块和保护模块使得所述递送装置可以适用于免缝合自粘附柔性肠道支架的置入。 | ||||
| 补充信息 | |||||
| 转让方式: | 成熟度: | 预估价值: | |||
| 市场前景: | |||||