样品
成果详情
| 项目简介 | |||||
|---|---|---|---|---|---|
| 技术简介: | |||||
| 专利类型: | 实用新型 | 专利申请号: | CN201720640519.5 | 公开号: | CN207679581U |
| 专利权人: | 南方医科大学 | 发明设计人: | 黄文华;邓羽平;欧阳汉斌;何伟;方斌;刘建成 | ||
| 所属领域: | |||||
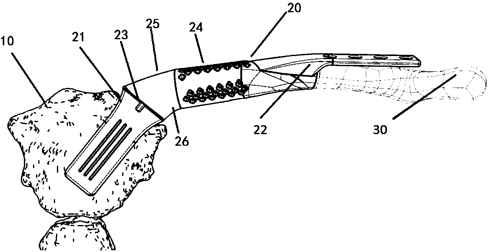
| 摘要: | 一种锁骨近端解剖型假体,设置有用于固定于胸骨柄髓腔的假体柄、用于安装于锁骨近端缺损处的假体主体、用于伸向锁骨残端的假体内固定钢板、支撑结构。该锁骨近端解剖型假体能有效地促进异骨体与胸骨、锁骨残端骨性连接;提高异骨体和胸骨关节融合,从而提高假体稳定性,增加假体的中长期寿命。一种锁骨近端解剖型假体的成型方法,上述的假体柄、假体主体、假体内固定钢板都使用医用铝合金3D打印一体成型。该成型方法能够快速定制出按照不同病人、不同锁骨近端骨缺损的骨骼匹配度极高的锁骨近端解剖型假体,以满足临床上锁骨近端重建的需求。 | ||||
| 补充信息 | |||||
| 转让方式: | 成熟度: | 预估价值: | |||
| 市场前景: | |||||