样品
成果详情
| 项目简介 | |||||
|---|---|---|---|---|---|
| 技术简介: | |||||
| 专利类型: | 实用新型 | 专利申请号: | CN201920502659.5 | 公开号: | CN209825779U |
| 专利权人: | 南方医科大学南方医院 | 发明设计人: | 刘梅娟;邹莹莹 | ||
| 所属领域: | |||||
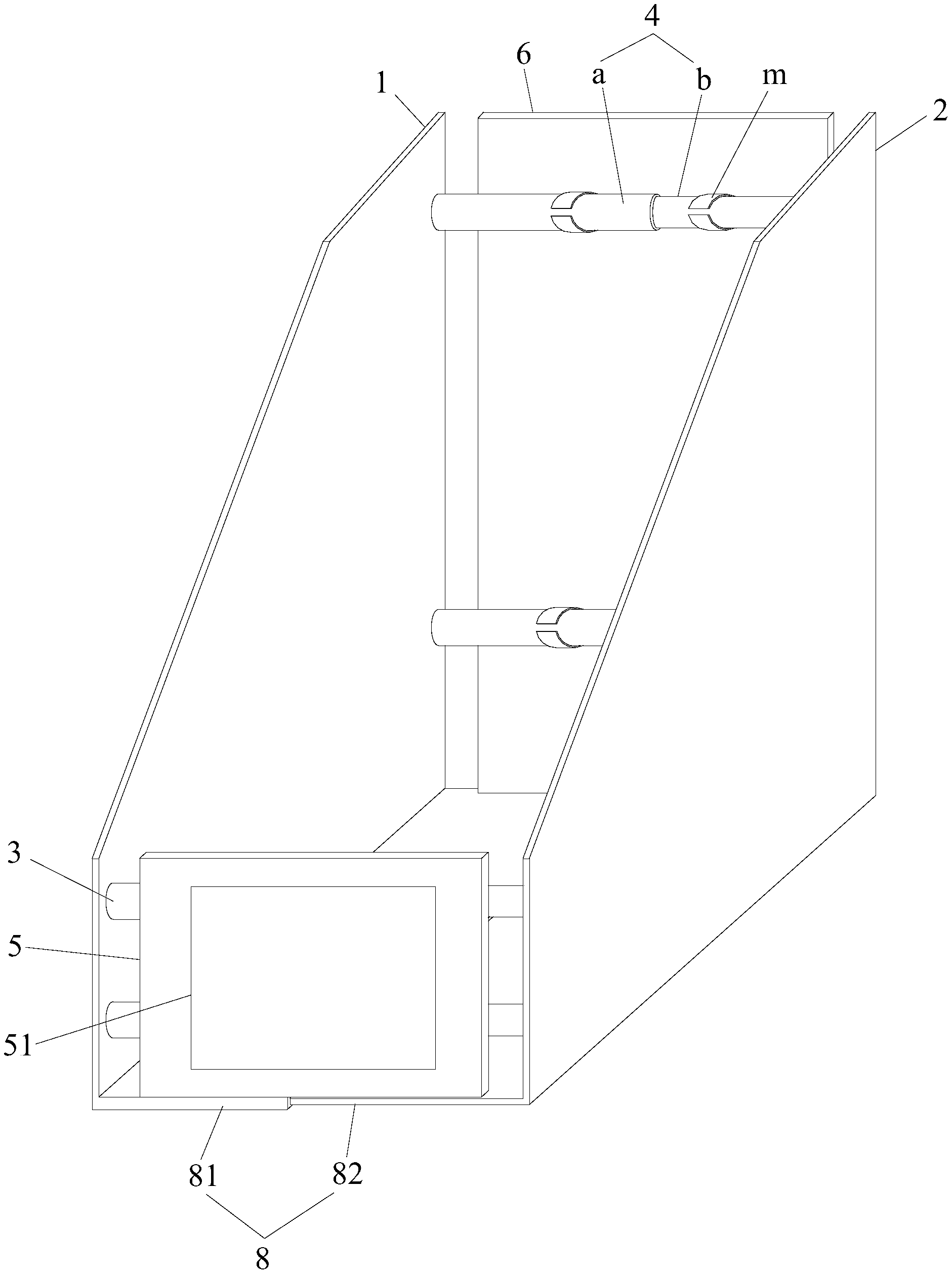
| 摘要: | 本实用新型公开了一种可扩容式文件架,包括左挡板和右挡板,所述左挡板和右挡板的前侧之间通过前伸缩杆连接,左挡板和右挡板的后侧之间通过后伸缩杆连接,左挡板和右挡板的下侧之间通过伸缩板连接,前伸缩杆的伸缩位置可拆卸固定有前定位板,后伸缩杆的伸缩位置可拆卸固定有后定位板,后定位板的下侧铰接有书本架,书本架具有朝下打开与后定位板垂直的第一状态和朝上合上与后定位板平行的第二状态,书本架的自由端凸起形成挡书台阶。本实用新型的可扩容式文件架能将相同的文件归纳在一块,避免丢失文件和弄乱顺序。 | ||||
| 补充信息 | |||||
| 转让方式: | 成熟度: | 预估价值: | |||
| 市场前景: | |||||