样品
成果详情
| 项目简介 | |||||
|---|---|---|---|---|---|
| 技术简介: | |||||
| 专利类型: | 实用新型 | 专利申请号: | CN202022787172.1 | 公开号: | CN213736672U | 
| 专利权人: | 南方医科大学南方医院 | 发明设计人: | 许波;许重远;张丽芬;任素桃;康玲;匡艳红 | ||
| 所属领域: | |||||
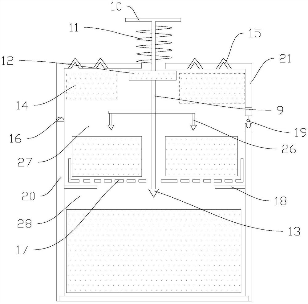
| 摘要: | 本实用新型公开了一种按压式制冷的药物转运箱,包括保温箱、存放箱和冷冻格,所述存放箱置于保温箱内;所述冷冻格置于保温箱内且位于保温箱的内壁和存放箱的外壁之间,所述冷冻格具有用于放置反应剂的第一腔体、用于放置制冷剂的第二腔体、保持冷冻格内部气压平稳的阀门组件和穿刺装置,所述穿刺装置包括用于刺穿反应剂的第一穿刺针、用于刺穿制冷剂的第二穿刺针以及用于驱使第一穿刺针和第二穿刺针移动的按压板。本实用新型通过具有穿刺装置的冷冻格,按压板被按压下行,第一穿刺针和第二穿刺针分布将反应剂和制冷剂刺穿,使得制冷剂和反应剂混合发生吸热反应,达到制冷的效果,使存放箱中保持冷藏效果,本实用新型可广泛应用于医疗器械技术领域。 | ||||
| 补充信息 | |||||
| 转让方式: | 成熟度: | 预估价值: | |||
| 市场前景: | |||||