样品
成果详情
| 项目简介 | |||||
|---|---|---|---|---|---|
| 技术简介: | |||||
| 专利类型: | 实用新型 | 专利申请号: | CN201920089277.4 | 公开号: | CN209751575U |
| 专利权人: | 南方医科大学珠江医院 | 发明设计人: | 李荣东;梁宁;范宗禄;谢平艳;苏钰涵 | ||
| 所属领域: | |||||
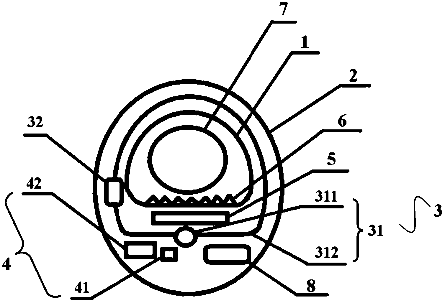
| 摘要: | 本实用新型公开了一种指腹刺激指套,包括指套本体,所述指套本体包括与手指形状相匹配的指套内层以及包裹在指套内层的外表面的指套外层,所述指套内层与指套外层之间设有压力刺激装置、温觉刺激装置、振动刺激装置以及控制装置;所述压力刺激装置包括压力产生装置以及设于压力产生装置上的压力传感器,所述压力产生装置设于指套内层的外表面上;所述温觉刺激装置包括温度传感器以及与温度传感器电连接的升温装置,所述升温装置设于指套内层的外表面上;所述压力传感器、温度传感器、振动刺激装置均与控制装置通信连接。本实用新型所述的指腹刺激指套,可通过变换压力、温度以及振动频率给予手部变化的感觉刺激,帮助恢复手部运动功能。 | ||||
| 补充信息 | |||||
| 转让方式: | 成熟度: | 预估价值: | |||
| 市场前景: | |||||